Вход/Регистрация
107-мм горно-вьючный полковой миномет обр. 1938 г. (107 ГВПМ-38) Руководство службы.
вернуться

Коллектив авторов

Шрифт:

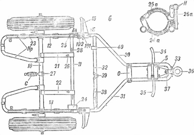
Рис. 42. Колесный ход 107-мм ГВПМ-38:

15 — предохранитель; 23 — укосина; 100 — гайка (4-61); Рм — рама колесного хода; Кл — колесо (сб. 4-13); Я — ящик для ЗИП.

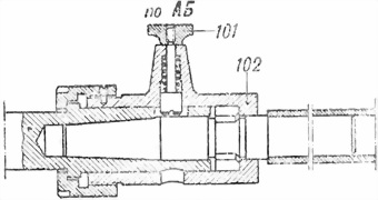
При соединении второго вида — с помощью муфты со стопором 101 (рис. 43) — концы полурам передней и задней части, имеющие выступы и соответствующие вырезы, затягиваются друг в друге при помощи муфты 102 и образуют сухарное соединение. Для удержания в затянутом положении муфта 102 дополнительно, как сказано было выше, снабжена стопором 101.

Задняя часть рамы (рис. 43) представляет собой выгнутую, из цельнотянутых стальных труб жесткую сварную конструкцию, состоящую из оси 10, связи 11, приваренной к двум изогнутым трубам: левой 12 и правой 13, которые в задней части образуют два П-образных кронштейна Кр, служащих для подвешивания на них опорной плиты за крюки 148 (рис. 29). В средней части оси шарнирно укреплена стяжка С, которой плита подтягивается к П-образным кронштейнам за скобу 149 (рис. 29).

Конец оси 10, а также трубы 12 и 13 жестко заделаны в кронштейны 14 (рис. 43).

а

б

в

г

д

Рис. 43. Рама хода:

а — вид справа; б — вид сверху; в — вид сзади; г — устройство соединения передней и задней частей рамы 2-го образца; д — устройство соединения передней и задней частей рамы 1-го образца; 10 — ось (4-21); 11 — связь; 12 — левая труба (4-10); 13 — правая труба (4-32); 14 — кронштейн; 15 — предохранитель; 16 — полуось; 17 — болт; 18 — шайба; 19 — шпонка; 20 — винт; 21 — планка левая (4-63); 22 — планка правая (4-63); 23 — укосина; 24 — упорная скоба; 24а — обойма нижняя; 25 — скоба малая; 25а — обойма верхняя; 26 — крючки; 26а — складная рукоятка; 27 — скоба для укрепления ящика; 28 — петля для увязки банника; 30 — левая труба передней части рамы; 31 — правая труба передней части рамы; 32 — труба; 33 — кронштейн тяги (4-33); 34 — левый поручень (4-43); 35 — правый поручень (4-42); 36 — шворневая лапа (4-34); 37 — гайка шкворневой лапы; 38 — карман для лопаты; 39 — захват для кирко-мотыги; 40 — упор для укладки кирко-мотыги; 100 — гайка (4-61); 101 — стопор (4-81); 102 — муфта; Б — обойма; Н — зажим; С — стяжка (сб. 4–3); Кр — П-образный кронштейн; О — обойма (сб. 4–7); Пч — передняя часть рамы (сб. 4–8); Зч — задняя часть рамы (сб. 4–5).

Впереди обе трубы, 12 и 13, имеют гайку 100 (рис. 42 и 43) или муфту 102 со стопором 101 (рис. 43) — для соединения задней части рамы с передней. Обе трубы, 12 и 13, снабжены предохранителями 15 (рис. 42 и 43), имеющими назначение предотвратить прямые удары по колесам при езде. В нижнее боковое отверстие каждого кронштейна 14 (рис. 43) наглухо затянуты полуоси 16 при помощи болта 17 с шайбой 18. Полуоси вставлены в отверстие кронштейна на шпонки 19, а болт и шайба застопорены винтом 20. Для жесткости ось 10 (рис. 43) и связь 11 скреплены еще двумя планками 21 и 22, которые одновременно служат для установки на них на крючках 26 ящика Я для принадлежности (рис. 42). Кроме того, П-образные кронштейны Кр для упрочнения дополнительно связаны приварными укосинамн 23, к которым приварено по лирке и скобе для укладки лома и вехи. На правом конце связи приварены упорная скоба 24 и скоба 25, в которые вкладывается банник (рис. 43). Ящик Я для принадлежности и банник дополнительно укрепляются на раме: первый — ремнем, пропущенным через скобу 27, второй — ремнями, пропущенными в петли 28.

Рис. 44. Зажим обоймы (сб. 4–6):

26 — рукоятка (стержень) (4-52); 140 — винт (4-48); 141 — гайка зажимная (4-49); 142 — заклепка (4-54); 144 — шарнир (4-50); 145 — заклепка (4-51).

Передняя часть рамы Пч (рис. 4З) состоит из двух изогнутых труб: левой 30 и правой 31, которые соединены между собой трубой 32, обоймой О и кронштейном тяги 33. В свою очередь кронштейн тяги дополнительно скреплен с обеих сторон с трубами 30 и 31 поручнями 34 и 35, которые придают жесткость кронштейну и одновременно служат ручками, при помощи которых колесный ход транспортируется расчетом вручную. В кронштейне тяги 33 имеется вращающаяся шворневая лапа 36, которая укреплена в нем при помощи гайки 37 с шплинтом. В месте приварки поручней к трубам 30 и 31 приварена еще обойма Б, в которую укладываются заглушки от ствола и казенника, употребляемые при навьючивании последних.

К трубе 32 приварены; карман 38 для укладки лопаты, захват 39 и упор 40 для укладки кирко-мотыги.

Рис. 45. Стяжка (сб. 4–3):

128 — муфта (4-13); 129 — шток передней (4-12); 130 — крючок (4-16); 131 — заклепка (4-17); 132 — шток задний (4-11); 133 — заклепка (4-17); 134 — обойма (4-18); 135 — заглушка (4-14); 135 — винт (4-15).

Трубы 30 и 31 на задних концах имеют конические стержни, которыми передняя часть рамы соединяется с задней частью при помощи гайки 100 или муфты со стопором 101.

Обойма О для ствола состоит (рис. 4З) из двух обойм: нижней 24а и верхней 25а, шарнирно соединенных между собой. На нижней обойме шарнирно укреплен зажим Н, который входит в прорезь верхней обоймы для затяжки уложенного ствола миномета при помощи складной рукоятки 26а, после чего рукоятка закрепляется в лирке, прикрепленной к обойме (рис. 43), для предохранения от самоотвертывания зажима. Для лучшего поджатия обоймы 24а и 25а имеют внутри резиновые прокладки.

  • Читать дальше
  • 1
  • ...
  • 17
  • 18
  • 19
  • 20
  • 21
  • 22
  • 23
  • 24
  • 25
  • 26
  • 27
  • ...

Ебукер (ebooker) – онлайн-библиотека на русском языке. Книги доступны онлайн, без утомительной регистрации. Огромный выбор и удобный дизайн, позволяющий читать без проблем. Добавляйте сайт в закладки! Все произведения загружаются пользователями: если считаете, что ваши авторские права нарушены – используйте форму обратной связи.

Полезные ссылки

  • Моя полка

Контакты

  • chitat.ebooker@gmail.com

Подпишитесь на рассылку: