Вход/Регистрация
107-мм горно-вьючный полковой миномет обр. 1938 г. (107 ГВПМ-38) Руководство службы.
вернуться

Коллектив авторов

Шрифт:

Зажим Н (рис. 44) состоит из зажимного винта 140, на нарезную часть которого навернута зажимная гайка 141, закрепленная от свертывания заклепкой 142. На другом конце гайки 141 шарнирно укреплен, при помощи заклепки 145, шарнир 144 с рукояткой (стержнем) 26.

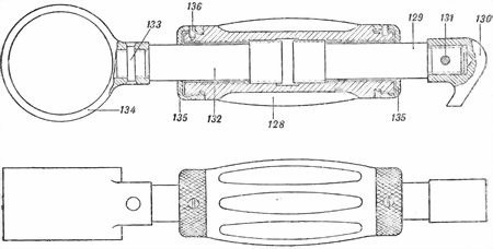
Стяжка С для подтягивания плиты (рис. 45) состоит из муфты 128, которая одним концом своей нарезной внутренней части связана с передним штоком 129, на конце которого закреплен крючок 130 при помощи заклепки 131. Другим концом нарезной части муфта завернута на задний шток 132, укрепленный заклепкой 133 в обойме 134, которая в свою очередь укрепляется на оси рамы хода. Благодаря наличию правой резьбы на переднем штоке и левой резьбы на заднем штоке и соответствующих резьб в муфте, последняя при вращении будет сближать или удалять штоки, в силу чего длина стяжки будет увеличиваться или уменьшаться. Муфта 128 впереди и сзади имеет заглушки 135, застопоренные винтами 136; заглушки ограничивают выход штоков из муфты.

32. Устройство колеса, разборка и сборка его

Колеса (рис. 46) имеют разъемные металлические диски и пневматические шины, заполненные губчатой резиной (ГК — губчатая камера).

Пневматическая шина — стандартная, размер ее 800x150.

Корпус колеса состоит из двух дисков (переднего и заднего) и сварной ступицы. Задний диск 1 приклепан к корневой части ступицы 2, передней же диск 26 прикреплен при помощи шпилек 3 с гайками 4 и 5 к концевой части ступицы 2а. Под гайки 5 шпилек подложено усиливающее кольцо 6. Для предохранения шпилек 3 от самоотвинчивания концы их около гаек 4 расклепаны.

Диски соединены друг с другом болтами 7 с гайками 8.

Чтобы болты или гайки не могли отвинтиться во время возки, под каждые два болта подложены стопорные планки 9 с захватами, а под каждые две гайки — стопорные планки 10, чередующиеся со стопорными планками 11 с ушками (рис. 47).

Для уменьшения тягового усилия каждое колесо снабжено двумя роликоподшипниками 12, которые вставлены перед ступицей и за нею. Задний роликоподшипник укреплен между задней внутренней заточкой ступицы и заточкой втулки 13 колеса, а передний роликоподшипник — между передней внутренней заточкой ступицы и концевой гайкой 14. Навинченная на втулку 13 гайка 14, кроме того, удерживает втулку в колесе; от отвинчивания концевая гайка 14 предохраняется шплинтом 15.

Ступица прикрывается колпаком, который состоит из венчика 16, чашки 17 и катушки 18. Для того чтобы колпак не отвертывался при возке, под одну из гаек 5 шпильки 3 подложена одним концом изогнутая стопорная накладка 19; другим концом накладка входит в один из прямоугольных вырезов венчика 16 колпака.

Корневой конец колеса прикрыт венчиком 20, внутри которого собран сальник, состоящий из: кожуха 21, крышки 22 кожуха, уплотняющего кольца 23.

Назначение сальника — не выпускать смазку из ступицы колеса и предохранять ступицу от грязи и пыли.

Для этой же цели между венчиками 16 и 20 проложены прокладки 24 из прессшпана.

От отвинчивания венчик 20 предохраняется стопорной планкой 32, удерживаемой винтом 33 (рис. 47).

Рис. 46. Колесо (разрез):

1 — задний диск, 2 — ступица; 2а — концевая часть ступицы; 3 — шпилька; 4 и 5 — гайка (12–30); 6 — усиливающее кольцо (12–24); 7 — болт (12–29); 8 — гайка (12–30); 9 — стопорные планки с захватом (12–26); 10 — стопорная планка (12–27); 11 — стопорная планка с ушком (12–28); 12 — роликоподшипник (12–19); 13 — втулка колеса (сб. 12-5); 14 — концевая гайка (12–21); 15 — шплинт (12–22); 16 — венчик; 17 — чашка; 18 — катушка; 19 — стопорная накладка (12–31); 20 — венчик; 21 — кожух (сб. 12-4); 22 — крышка кожуха; 23 — уплотняющее кольцо (12–18); 24 — прокладки из прессшпана; 25 — флиппер (12–25); 26 — передний диск (12–23); 27 — обойма стопора; 28 — стопор (12–14); 29 — пружина стопора (12–15); 30 — наконечник стопора (12–16); 31 — шплинт (12–17).

Флиппер 25 проложен для того, чтобы при сборке дисков колеса губчатая резина не зажималась между дисками.

Колесо удерживается на конце оси при помощи стопорного приспособления, собранного в обойме 27. Стопорное приспособление состоит из стопора 28, пружины 29 и наконечника стопора 30, ввинченного в стопор и закрепленного шплинтом 31. В собранном виде стопор под действием пружины всегда входит во внутреннюю полость втулки.

Обойма 27 приварена к втулке.

Надевание колеса. Стопор поднимается за наконечник вверх, и колесо надевается так, чтобы отверстие под стопор на конце оси встало против стопора. После этого стопор отпускается.

Снимание колеса. Стопор поднимается за наконечник вверх, и колесо снимается.

Разборка и сборка колеса

Разборка ступичного устройства (рис. 46 и 47). Ступичное устройство разбирается только в необходимых случаях (для чистки сильно загрязненных роликоподшипников).

  • Читать дальше
  • 1
  • ...
  • 18
  • 19
  • 20
  • 21
  • 22
  • 23
  • 24
  • 25
  • 26
  • 27
  • 28
  • ...

Ебукер (ebooker) – онлайн-библиотека на русском языке. Книги доступны онлайн, без утомительной регистрации. Огромный выбор и удобный дизайн, позволяющий читать без проблем. Добавляйте сайт в закладки! Все произведения загружаются пользователями: если считаете, что ваши авторские права нарушены – используйте форму обратной связи.

Полезные ссылки

  • Моя полка

Контакты

  • chitat.ebooker@gmail.com

Подпишитесь на рассылку: