Вход/Регистрация
Дневная книга (сборник)
вернуться

Павич Милорад

Шрифт:

Короче говоря, если вы что-то ищете и не находите, не теряйте надежды. Может быть, это «что-то» найдет вас.

Что же касается стеклянной пробки от флакона, то, посмотрев сквозь нее на свет, можно, как под увеличительным стеклом, прочитать вырезанную на ее донышке надпись на греческом языке. Эта надпись в стеклянной пене выглядит так:

Не забывай, что твои годы идут парами, как сестры, как мать и дочь или как сестра и брат. А иногда как отчим и падчерица или как любовники…

Тот, кто догадается перевернуть стеклянную пробку и посмотреть с другой стороны, прочтет следующее:

Для того чтобы встретить ночь всех твоих ночей как день, нужно заранее понять, какова та пара лет, которая входит в твою жизнь.

В отделении, где когда-то была чернильница, сейчас находится пузырек с черной краской и палочка, с помощью которой женщины в азиатских и африканских странах раскрашивают боковую часть своих ступней.

II

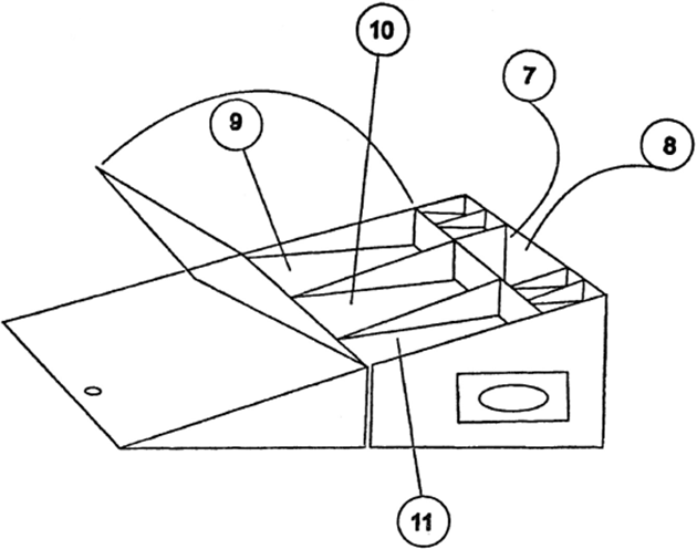
Средний уровень ящика для письменных принадлежностей

На этом уровне ящика для письменных принадлежностей расположены: выдвижной ящик из розового дерева (7), ящик из древесины ореха (8), а также три довольно больших отделения (9–11)

7

Ящик из розового дерева

Средний уровень ящика становится виден тогда, когда извлечешь оттуда ванночку для ручек (4). Под ней обнаруживается пустое пространство. Если теперь вынуть левую стенку средней ванночки, высвободится потайная пружина и на этом месте, слева, из глубины, выскочит выдвижной ящик из розового дерева (7), запрятанный до этого под ванночками. В нем лежат нож, вилка и прядь женских волос. Одновременно с появлением ящика начинает играть музыкальная шкатулка, скрытая где-то внутри так, что ее нельзя ни увидеть, ни пощупать, а можно только услышать.

У музыкальной шкатулки в запасе семь мелодий – по одной для каждого из семи морских ветров. Иными словами, она заводит ту или иную мелодию в зависимости от того, какой дует ветер. Стоит измениться ветру, меняется и мелодия. Так что мореплаватель мог определять направление ветра, не выходя из каюты, по звукам из музыкальной утробы, и узнавать, что за ветры свистят над палубой и когда происходит их смена. О сирокко предупреждала мелодия, начинавшаяся словами: «В рубашке тихой завтрашних движений…», если дул бора, слышалась песня «Тишина такая, как тогда, когда синие цветы молчат…», трамонтана завывал под звуки «День мой смеркается дважды…» и т. д.

8

Ящик из древесины ореха

Если убрать правую стенку средней ванночки, то и с этой стороны из пустоты выскочит, подброшенный пружиной, ящик из древесины ореха (8). В этом ящике лежит свернутая в трубку рукопись, закрученная в страницу, вырванную из какого-то комикса. На одной из картинок комикса изображен бык с пеной у рта. У него на спине, верхом, лицом друг к другу, сидят молодой человек и девушка. Текст комикса на английском, а картинка называется «Third Argument». Итак, если развернуть вырванную из комикса страницу, обнаружится рукопись. Она представляет собой тетрадь, страницы которой испещрены зелеными чернилами, бумага толстая и рыхлая, наподобие промокательной, с надписью на каждом листе, мелким шрифтом сообщающей, что это экологически чистый продукт. По обложке желтоватого цвета рассыпаны мелкие синие цветы. Сама рукопись составлена мужской рукой и напоминает дневник, в который кое-где вклеены вырезки из отпечатанного типографским способом текста. Далее целиком приводится текст дневника со всеми вставками. Написано в Париже на сербском языке.

Рукопись из парижа, завернутая в страницу из английского комикса

– Это ты прилепил объявление в книжном магазине «Шекспир»? – спросил меня вчера из телефонной трубки женский голос.

– Да, – ответил я.

– Сейчас я иду на факультет. Я учусь на строительном. Знаешь, где это?

– Я тоже учусь на строительном, – выпалил я в ответ, – буду у входа через сорок пять минут.

Стоило мне посмотреть на нее, как по положению ее зрачков я понял, что ее левый глаз прошел гораздо большее число реинкарнаций, чем правый. Он был старше правого по крайней мере на полторы тысячи лет. И не моргал. Она пришла с книгами под мышкой.

– Ты читала роман? – спросил я.

– Нет, – ответила она. – Я вообще не так уж много читаю. А ты? Ты читал его? Или это просто такой прием, чтобы познакомиться со мной?

– Забудь об этом, – сказал я. – Хочешь, будем заниматься вместе?

– Хорошо, но только давай сразу договоримся. Пока не кончится семестр – никакого траханья. А после сессии посмотрим. Идет?

– Идет, – ответил я.

Так мы начали вместе готовиться по курсу «Математика-1», и оттого, что, в отличие от меня, она была не из провинции, занимались мы в ее большой квартире на улице Фий-дю-Кальвер.

Каждое утро, довольно рано, я проходил мимо ее сверкающего автомобиля марки «Layland-Buffalo». Предварительно я сворачивал в сквер, который выходит на рю де Бретань, отыскивал на дорожке камень, подбирал его и прятал в карман. Потом звонил у двери и поднимался на второй этаж. Книги, тетради и нужные для занятий инструменты я не брал. Все это лежало у нее, всегда готовое к работе. Перед ней мерцал семнадцатидюймовый монитор пентиума. Занимались мы с девяти до одиннадцати, потом нам подавали завтрак, и мы продолжали занятия до двенадцати. Позже мы повторяли пройденный материал. Все это время я держал в руке камень, который, стоило мне задремать, падал на пол и будил меня прежде, чем она успевала что-то заметить. Иногда, когда мне не хотелось спать, я разглядывал ее гитару, стоявшую в углу комнаты. На стенах вместо картин в рамках и под стеклом висели многократно увеличенные почтовые марки с изображениями парусников и пароходов. После часа дня я уходил, а она продолжала заниматься одна.

  • Читать дальше
  • 1
  • ...
  • 3
  • 4
  • 5
  • 6
  • 7
  • 8
  • 9
  • 10
  • 11
  • 12
  • 13
  • ...

Ебукер (ebooker) – онлайн-библиотека на русском языке. Книги доступны онлайн, без утомительной регистрации. Огромный выбор и удобный дизайн, позволяющий читать без проблем. Добавляйте сайт в закладки! Все произведения загружаются пользователями: если считаете, что ваши авторские права нарушены – используйте форму обратной связи.

Полезные ссылки

  • Моя полка

Контакты

  • chitat.ebooker@gmail.com

Подпишитесь на рассылку: