Вход/Регистрация
Большая Советская Энциклопедия (АЭ)
вернуться

Большая Советская Энциклопедия

Шрифт:

М. Я. Юделович.

Рис. 5. Насадок для измерений температуры заторможенного потока: 1 — спай термопары; 2 — входное отверстие; 3 — диффузор; 4 — вентиляционное отверстие.

Рис. 6. Схема измерения температуры газа по скорости распространения звуковых волн.

Рис. 3б. Теневые спектры обтекания модели, количественное исследование течения: 1 — модель в форме конуса, переходящая в цилиндр; 2 — эталонная линза; 3 — ударная волна; 4 — веер волн разрежения; 5 — линия пересечения поверхности ударной волны и защитного стекла.

Рис. 3а. Теневые спектры обтекания модели, а — качественное исследование картины течения при М = 3: 1 — модель в виде конуса, опирающегося на торцовую поверхность цилиндра; 2 — ударные волны; 3 — граница оторвавшегося пограничного слоя.

Рис. 4. Интерферограмма обтекания модели сверхзвуковым потоком: 1 — модель; 2 — линии одинаковой плотности; 3 — поверхность ударной волны; 4 — пограничный слой на поверхности сопла.

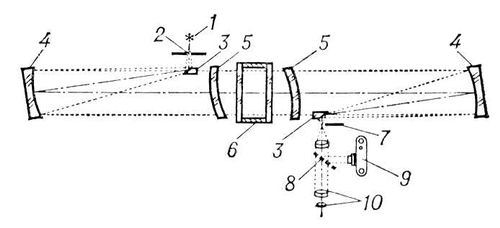
Рис. 2. Схема прибора Тёплера: 1 — источник света; 2 — щель; 3 — зеркала; 4 — сферические зеркала; 5 — мениски; 6 — рабочая часть аэродинамической трубы; 7 — нож Фуко; 8 — полупрозрачное зеркало; 9 — фотокамера; 10 — окуляр.

Рис. 1. Схема измерения статических давлений на поверхности модели: 1 — модель; 2 — дренажные отверстия; 3 — трубки; 4 — манометр.

Аэродинамические коэффициенты

Аэродинами'ческие коэффицие'нты, безразмерные величины, характеризующие аэродинамические силу и момент, действующие на тело, движущееся в жидкой или газообразной среде. А. к. силы Ck находят как отношение аэродинамич. силы R к скоростному напору

и характерной площади S, а А. к. момента Cm — как отношение аэродинамич. момента М к rv2/2, S и к характерной длине l , т. е.

где r — плотность среды, в которой движется тело, v — скорость тела относительно этой среды. Характерные размеры выбираются достаточно произвольно, например для самолёта S — площадь несущих крыльев (в плане), а l — длина хорды крыла; для ракеты S — площадь миделевого сечения, а l — длина ракеты. Если аэродинамическую силу и момент разложить на составляющие по осям, то соответственно будем иметь: А. к. сопротивления — Cx, подъёмной и боковой сил — Су и Cz, а также А. к. моментов крена, рыскания и тангажа.

Выражение аэродинамических сил и моментов в форме А. к. имеет большое значение для аэродинамических исследований и расчётов, существенно их упрощая. Так, например, аэродинамическая сила, действующая на самолёт, может достигать значений в сотни и тысячи кн (десятки и сотни mс), та же сила, действующая на модель этого самолёта, испытываемую в аэродинамической трубе, составляет десятки ньютонов (н), но А. к. для самолёта и для модели равны между собой. Или, например, аэродинамическая сила, действующая на шар, падающий с большой высоты на землю, зависит от высоты и скорости падения шара, а А. к. является постоянной величиной.

Для аппаратов больших размеров, летящих на малой высоте с дозвуковой скоростью, для которых М-число М < 0,2, А. к. зависит только от формы летательного аппарата и угла атаки (угла между характерной плоскостью и направлением скорости полёта). В общем случае А. к. зависят от вязкости и сжимаемости газа, характеризуемой безразмерными подобия критериями: М-числом и Рейнольдса числом (рис. 1 и 2).

М. Я. Юделович.

Рис. 1. Зависимость коэффициента аэродинамического сопротивления конуса от числа М. Рис. 2. Зависимость коэффициента аэродинамического сопротивления шара от числа Re.

Аэродинамические свойства семян

Аэродинами'ческие сво'йства семя'н, особенности поведения семян в воздушном потоке. А. с. с. зависят от размеров, формы, веса семян, шероховатости их поверхности и др. Эти свойства учитывают при конструировании машин для очистки и сортирования семян. Для изучения А. с. с. используют специальные приборы — пневмоклассификаторы, в которых по вертикальной трубе подаётся снизу воздушный поток на сетку с семенами. Скорость воздушного потока, при которой семена приходят во взвешенное состояние, называется критической. Для семян пшеницы, например, она равна 8—11 м/сек, кукурузы — 10—17 м/сек. Сопротивление семян воздушному потоку зависит от парусности семян (площади поперечного сечения, перпендикулярного потоку). Поведение семян в потоке зависит от их удельной парусности — отношения площади среднего поперечного сечения семян (в см2) к их массе (в г). Удельная парусность характеризуется скоростным давлением потока, при котором семя находится во взвешенном состоянии. Это давление измеряется микроманометром.

  • Читать дальше
  • 1
  • ...
  • 6
  • 7
  • 8
  • 9
  • 10
  • 11
  • 12
  • 13
  • 14
  • 15
  • 16
  • ...

Ебукер (ebooker) – онлайн-библиотека на русском языке. Книги доступны онлайн, без утомительной регистрации. Огромный выбор и удобный дизайн, позволяющий читать без проблем. Добавляйте сайт в закладки! Все произведения загружаются пользователями: если считаете, что ваши авторские права нарушены – используйте форму обратной связи.

Полезные ссылки

  • Моя полка

Контакты

  • chitat.ebooker@gmail.com

Подпишитесь на рассылку: