Вход/Регистрация
Большая Советская Энциклопедия (УС)
вернуться

Большая Советская Энциклопедия

Шрифт:

Рис. 7. Схематический разрез магнита ускорителя с сильной фокусировкой: 1 — полюсные наконечники, обеспечивающие сильное изменение магнитного поля В по радиусу; 2 — обмотки электромагнита; 3 — сечение вакуумной камеры.

Рис. 12. Схематический разрез волновода с диафрагмами (1). Стрелками показано распределение поля, бегущего вдоль волновода; 2 — ускоряемый сгусток электронов.

Рис. 4. Поле магнитной квадрупольной линзы: N, S — северный и южный полюсы магнита, F — сила действия магнитного поля на частицу, движущуюся перпендикулярно плоскости рисунка (в центре О F = 0).

Рис. 1. К пояснению механизма автофазировки.

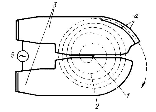
Рис. 10. Схема ускорителя Видероэ с пролётными трубками: 1 — пролётные трубки; 2 — источник переменного напряжения; 3 — область действия электрического поля Е.

Рис. 5. Распределение электрического поля в ускоряющем зазоре между электродами А и В; Fx , Fy — продольная и поперечная составляющие силы F, действующей на частицу.

Рис. 8. Схема движения частиц в циклотроне и фазотроне; магнитное поле перпендикулярно плоскости чертежа. 1 — ионный источник; 2 — орбита ускоряемой частицы (спираль); 3 — ускоряющие электроды; 4 — выводное устройство (отклоняющие пластины); 5 — источник ускоряющего поля.

Рис. 11. Схематический разрез резонатора (1) линейного ускорителя с дрейфовыми трубками (2). Вблизи оси электрическое поле Е сосредоточено лишь в зазорах между трубками.

Ускорители на встречных пучках

Ускори'тели на встре'чных пучка'х, ускорители со встречными пучками, установки, в которых осуществляется столкновение встречных пучков заряженных частиц (элементарных частиц и ионов), ускоренные электрическим полем до высоких энергий (см. Ускорители заряженных частиц ). На таких установках исследуются взаимодействия частиц и рождение новых частиц при максимально доступных в лабораторных условиях эффективных энергиях столкновения. Наибольшее распространение получили ускорители со встречными электрон-электронными (е– е– ), электрон-позитронными (е– е + ) и протон-протонными (рр) пучками.

В обычных ускорителях взаимодействие частиц изучается в лабораторной системе отсчёта при столкновениях пучка ускоренных до высокой энергии частиц с частицами неподвижной мишени. При этом вследствие закона сохранения полного импульса соударяющихся частиц большая часть энергии налетающей частицы расходуется на сохранение движения центра масс системы частиц, т. е. на сообщение кинетической энергии частицам – продуктам реакции, и лишь небольшая её часть определяет «полезную», или эффективную, энергию столкновения, т. е. энергию взаимодействия частиц в системе их центра инерции, которая может идти, например, на рождение новых частиц. Из расчёта следует, что при столкновении двух частиц одинаковой массы (m ), одна из которых покоится в лабораторной системе отсчёта, а другая движется с релятивистской (близкой к скорости света с) скоростью, энергия в системе центра инерции

, где E = mc2 – энергия покоя частицы, а Е – энергия налетающей частицы в лабораторной системе отсчёта. Т. о., чем больше Е, тем меньшая её доля определяет энергию взаимодействия частиц. Если же сталкиваются частицы с равными по величине и противоположно направленными импульсами, т. е. их суммарный импульс равен нулю, то лабораторная система отсчёта совпадает с системой центра инерции частиц и эффективная энергия столкновения равна сумме энергий сталкивающихся частиц; для частиц с одинаковыми массами (и энергией Е ) Еци = 2E, т. е. кинетическая энергия может быть полностью использована на взаимодействие.

Особенно велико преимущество изучения процессов взаимодействия на встречных пучках для лёгких частиц – электронов и позитронов, для которых E = 0,5 Мэв. Например, для соударяющихся во встречных пучках электронов с энергией в 1 ГэвЕци = 2 Гэв; такая же эффективная энергия столкновения при одном неподвижном электроне потребовала бы энергии налетающего электрона Е = Е2ци /2Е (4000 Гэв. Для встречных пучков протонов (E » 1 Гэв ), например с энергией Е = 70 Гэв (энергия протонов Серпуховского ускорителя 76 Гэв ), Еци = 140 Гэв, тогда как при столкновении с покоящимся протоном эффективная энергия столкновения 140 Гэв была бы достигнута лишь при энергии налетающего протона Е = 10 000 Гэв !

У. на в. п. имеют важнейшее значение для изучения упругих и неупругих процессов взаимодействия стабильных частиц – протонов и электронов (и их античастиц); в области сверхвысоких энергий с ними не могут конкурировать обычные ускорители с неподвижной мишенью.

Недостаток У. на в. п. – малая плотность пучков частиц по сравнению с плотностью неподвижной мишени. Для увеличения плотности частиц до процесса соударения производится накапливание заряженных частиц в специальных накопительных кольцах (см. Накопители заряженных частиц ), так чтобы токи циркулирующих частиц составляли не менее десятков а. Однако и при таких токах интенсивность пучков вторичных частиц высоких энергий (p– и К-мезонов, нейтрино и др.), образующихся при соударениях, на несколько порядков меньше, чем интенсивность пучков тех же частиц, получаемых на обычных ускорителях. Кроме того (т.к. энергия вторичной частицы не может превышать энергию сталкивающихся в У. на в. п. первичных частиц), получается проигрыш в энергии вторичных частиц по сравнению с традиционными ускорителями. Поэтому У. на в. п. не могут заменить, а лишь дополняют традиционные ускорители, и развитие тех и других должно идти параллельно.

В накопительные кольца, представляющие собой кольцевые вакуумные камеры, помещенные в магнитное поле, ускоренные заряженные частицы поступают из обычного ускорителя. Магнитное поле создаётся, как правило, секторными магнитами, разделёнными прямолинейными промежутками (без магнитного поля) для областей пересечения пучков (и для размещения ускорительного устройства). Установка со встречными пучками содержит один или два накопительных кольца в зависимости от того, различны (как у е– е + , р

, где
 – антипротон) или соответственно одинаковы (как у е– е– , рр) знаки электрических зарядов сталкивающихся частиц. Предварительное ускорение пучков (до инжекции в накопительные кольца) производится в синхрофазотронах или синхротронах (с сильной или слабой фокусировкой), а также в линейных ускорителях. Возможно и дополнительное ускорение частиц в накопительных кольцах после инжекции. Однако независимо от того, производится ли дополнительное ускорение, каждый накопительный комплекс на встречных пучках обязательно включает ускоряющую систему для компенсации потерь энергии заряженных частиц на синхротронное излучение (для электрон-позитронных пучков) и ионизацию остаточного газа в камере. Второе назначение системы ускорения – фиксация азимутальных размеров пучка (число сгустков частиц равно кратности частоты ускоряющей системы по отношению к частоте обращения частиц). Типичные схемы электрон-позитронного и протон-протонного накопительного комплекса приведены на рис. 1 и 2 .

  • Читать дальше
  • 1
  • ...
  • 13
  • 14
  • 15
  • 16
  • 17
  • 18
  • 19
  • 20
  • 21
  • 22
  • 23
  • ...

Ебукер (ebooker) – онлайн-библиотека на русском языке. Книги доступны онлайн, без утомительной регистрации. Огромный выбор и удобный дизайн, позволяющий читать без проблем. Добавляйте сайт в закладки! Все произведения загружаются пользователями: если считаете, что ваши авторские права нарушены – используйте форму обратной связи.

Полезные ссылки

  • Моя полка

Контакты

  • chitat.ebooker@gmail.com

Подпишитесь на рассылку: