Вход/Регистрация
Сантехника: выбираем и подключаем самостоятельно
вернуться

Алексеев Виктор Константинович

Шрифт:

Кроме паяльной лампы, используются топор, электрическая ручная отрезная машина, оснащенная армированным абразивным отрезным кругом (предназначенным для резки металла). Творческая фантазия народных умельцев позволяет получить из обрезка толстого дерева (в 2–3 обхвата, как говорят в народе) деревянную ванну с потрясающим дизайном, на самый изысканный вкус.

В чем отличие ванн друг от друга

Ванны чугунные, стальные и акриловые отличаются друг от друга формой, размерами, весом.

Чугунные эмалированные ванны более массивны, чем все остальные. Самые легкие – стальные эмалированные ванны, при этом их срок службы меньше, чем у других видов – чугунных и акриловых. Соответственно, самые дешевые ванны – стальные эмалированные, самые дорогие – акриловые с гидромассажем, имеющие сложное оборудование и устройство в целом. Такие ванны предназначены для оздоровительных процедур, они устанавливаются специалистами сервисного центра, имеющего договорное соглашение и разрешение на гарантийное обслуживание от зарубежной фирмы изготовителя-поставщика. Акриловые ванны с гидромассажем изготавливают в основном иностранные фирмы. Их эксплуатация должна производиться строго по технической инструкции. Несоблюдение правил эксплуатации ведет к снятию гарантии досрочно – таковы договорные условия сервисного обслуживания. Акриловые ванны с гидромассажем и без него имеют самые разнообразные цвета и формы, причем очень часто их изготавливают по предварительным заказам, в которых оговариваются размеры, форма, цвет, комплектация установочными деталями, смесителями и душевым устройством.

Как правильно выбрать ванну

Как правило, вид ванны, ее размеры и форму выбирают исходя из финансовых возможностей, это во-первых. Во-вторых, ориентируются на размеры ванной комнаты. При выборе чугунных эмалированных или стальных эмалированных ванн обращают внимание на качество эмалевого покрытия. Качественное эмалевое покрытие ванн любого вида не должно иметь пузырьков и наплывов, царапин, темных пятен, свидетельствующих о недостаточно качественном покрытии эмалью.

Самыми удобными являются ванны, имеющие широкие борта (в пределах 105–110 мм). Кроме того, ванны любого вида должны иметь надежную, устойчивую подставку в виде ножек или специальных опорных элементов, фиксирующих ее положение и не допускающих качания из стороны в сторону.

Составные части ванн

Любые ванны – чугунные, стальные, акриловые без гидромассажа – имеют элементарные составные части: большую емкость для приема воды, необходимой для мытья, борта по краям, одно отверстие для выпуска грязной воды, второе отверстие для закрепления переливного устройства.

Отверстие для выпуска воды располагается в левой части ванны, в ее дне. Отверстие для переливного устройства находится слева в верхней узкой части ванны. Ванны комплектуют ножками или опорными элементами для установки на полу ванной комнаты, водосливной арматурой, деталями крепления, а также уравнителем электрических потенциалов, который защищает принимающих процедуру людей от поражения электрическим током при его случайной утечке. В качестве уравнителя электрических потенциалов используют проводник из стальной проволоки диаметром не менее 5 мм или стальную полосу площадью сечения не менее 24 мм2, присоединяемые к трубопроводу холодной или горячей воды и к металлической ванне.

Смесители в комплектность обычных ванн не входят. Только акриловые ванны с гидромассажем комплектуют смесителями, водосливной арматурой, гибкой подводкой, опорным устройством и гидромассажной установкой.

Как установить ванну

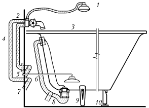
Установку простой ванны без гидромассажного устройства начинают с закрепления ее положения на ножках (рис. 32) – регулируемых и нерегулируемых или на специальном опорном (рис. 32) устройстве, более массивном и устойчивом, выполненном из литой, штампованной пластмассы с резиновыми прокладками. Опорные устройства также имеют ножки. Резиновые прокладки необходимы для регулирования наклона ванны в сторону выпуска воды из нее. После закрепления ванны на ножках или опорных устройствах к первому отверстию в днище ванны подсоединяют выпуск с сифоном и переливом, верхняя часть которого закрепляется во втором отверстии (расположенном в левой узкой стенке ванны).

Затем производят подключение сифона к трубе канализации. Далее, используя гибкую подводку, присоединяют к трубам горячей и холодной воды смеситель с душем. Все соединения выполняют с применением герметика.

Какие могут возникнуть неполадки с ванной и как их устранить

Неполадки с обычной ванной без гидромассажа могут возникнуть только в местах присоединения к ней выпуска с сифоном и переливом в виде течи воды.

Для их устранения производят демонтаж соединений с помощью накидного ключа и хорошую обмазку этих мест термоводостойким герметиком или масляной краской (или белилами с подмоткой из сантехнического льна).

Нарушение герметичности мест соединений может возникнуть из-за неустойчивого закрепления ванны на опорном устройстве или на ножках (т. е. происходит раскачивание ванны при наполнении водой). Поэтому очень важным условием предупреждения неполадок с ванной является ее надежная фиксация на опорных устройствах или ножках.

Очистка и прочистка ванны

Очистка и прочистка ванны производятся при возникновении засора в месте выпуска из ванны в систему квартирной канализации. Для устранения засора незначительной плотности чаще всего применяют специальное сантехническое приспособление весьма простой конструкции, так называемый вантуз – резиновый стакан с деревянной ручкой на конце (рис. 33).

Рис. 33. Вантуз для прочистки засора в выпуске ванны

Вантузы продаются в магазинах хозяйственных товаров или сантехники. Если вантуз в сочетании с небольшим количеством горячей воды не помог, то применяют сухой отбеливатель, который высыпают непосредственно в отверстие выпуска, затем пускают небольшое количество горячей воды и вантузом путем нажима на резиновый стакан направляют горячую воду в выпуск. Эту операцию повторяют до полного удаления засора в выпуске ванны или сифоне. Для прочистки засора ванны применяют также специальное средство – порошок сухой или жидкость «Крот» (их также продают в магазинах хозяйственных товаров или сантехники). Если даже все указанные средства не помогли, то применяют более эффективное средство – главное «оружие» сантехника – гибкий трос диаметром 4–6 мм с деревянной ручкой (это приспособление было описано ранее в главе 5 «Прочистка канализации в квартире»). Утолщенный конец гибкого троса просовывают в выпуск из ванны и проталкивают в отверстие по сифону до трубы квартирной канализации.

  • Читать дальше
  • 1
  • ...
  • 13
  • 14
  • 15
  • 16
  • 17
  • 18
  • 19
  • 20
  • 21
  • 22
  • 23
  • ...

Ебукер (ebooker) – онлайн-библиотека на русском языке. Книги доступны онлайн, без утомительной регистрации. Огромный выбор и удобный дизайн, позволяющий читать без проблем. Добавляйте сайт в закладки! Все произведения загружаются пользователями: если считаете, что ваши авторские права нарушены – используйте форму обратной связи.

Полезные ссылки

  • Моя полка

Контакты

  • chitat.ebooker@gmail.com

Подпишитесь на рассылку: