Вход/Регистрация
Сантехника: выбираем и подключаем самостоятельно
вернуться

Алексеев Виктор Константинович

Шрифт:

По внешнему периметру листа фанеры обрезаются все углы и аккуратно делается овал, после чего гнездо из фанеры крепится к полу длинными проточными шурупами (если пол деревянный) длиной 60–70 мм или дюбель-шурупами (если пол бетонный). При этом пользуются отверткой и электродрелью со сверлом по бетону. В толстом листе фанеры и в деревянном полу предварительно делаются отверстия под шурупы электродрелью с обычным сверлом, его диаметр должен быть меньше диаметра шурупа. Для лучшей фиксации унитаза в гнезде из толстой фанеры применяются резиновые прокладки в виде полосок шириной 25–30 мм и толщиной 2–3 мм. Эти прокладки приклеиваются клеем «жидкие гвозди» к фанере в месте соприкосновения с унитазом.

Последний вариант установки и фиксации унитаза более приемлем в случае замены этого санитарно-технического прибора на новый.

Деревянный пол в туалете делают в основном в цокольных или полуподвальных этажах частного дома или домов индивидуальной застройки.

В тех случаях, когда пол в туалете выложен плиткой, гнездо под унитаз делают в ней. При этом используется обычная электрическая ручная дрель со сверлом по бетону или металлу (т. е. наконечник у сверла твердо-сплавленый) диаметром 10–12 мм.

Оформление гнезда под унитаз делают следующим образом:

1) намечают маркером контур гнезда на поверхности плитки;

2) сверлят отверстия по периметру намеченного контура, а затем внутри его в нескольких местах;

3) слесарным зубилом аккуратно долбят плитку между отверстиями и удаляют ее из гнезда (слесарное зубило – инструмент, похожий на рабочую часть обыкновенного металлического лома);

4) контур гнезда намечают маркером не строго по профилю основания унитаза, а с отступлением от него на 25–30 мм;

5) после выполнения гнезда после полной его очистки от осколков протирают основание под унитаз мокрой тряпкой;

6) очищенное гнездо заполняют свежеприготовленной смесью «Клиберлит-СН» (или «ЮНИС Горизонт») и ставят на нее унитаз, придавливая его грузом – тазом с водой;

7) сразу же производят подключение унитаза к канализационной квартирной трубе и устанавливают на полочку унитаза смывной бачок.

Существует и другой вариант установки унитаза на керамическую плитку, когда для его фиксации используется гнездо из толстой фанеры. При таком варианте в фанере просверливаются сквозные отверстия и в плитке помечают их месторасположение. Затем в плитке с помощью электродрели и сверла по бетону (или металлу) высверливаются сквозные отверстия, до самого основания (можно захватить на 5–6 мм и основание). Далее это гнездо из толстой фанеры после установки в него унитаза с применением специального клея по фарфору и фаянсу крепится к плитке с помощью высокопрочных дюбель-шурупов. Иногда в отверстия, выполненные в плитке, вставляют деревянные или пластмассовые пробки, в которые затем и завинчивают высокопрочные шурупы-саморезы. Если пол в туалете не выложен плиткой, то унитаз обкладывают плиткой с подгонкой по форме его основания. При этом для обрезки керамической плитки используются обычная ножовка по металлу или электрическая ручная отрезная машина, оснащенная отрезным кругом (армированным) по металлу. В этом варианте плитку и унитаз крепят к основанию, применяя клей плиточный «ЮНИС-плюс» водостойкий (или «Клиберлит-СН»).

Какие неполадки бывают у унитаза и как их устранить

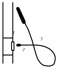
Рис. 29. Прочистка засора через ревизию в канализационной трубе-стояке с помощью гибкого троса: 1 – канализационная труба; 2 – стояк, ревизия (отверстие) с заглушкой; 3 – гибкий трос диаметром 4–5 мм длиной 3 м с деревянной ручкой

Неполадки при эксплуатации бывают мнимые и действительные. Мнимая неполадка унитаза в виде засора бывает в квартирах многоэтажных домов, когда в канализационной трубе-стояке оказывается большой кусок тряпки, в частности после мытья полов при выливании грязной воды из ведра в унитаз на верхних этажах. В этом случае используют элементарное приспособление для прочистки засора в виде специального гибкого троса диаметром 4–5 мм и длиной 3 м. Этот трос имеет на одном конце деревянную ручку, а на другом конце – небольшое утолщение в виде металлического сплющенного кольца (это делается для того, чтобы трос не расплетался). Утолщенный конец гибкого троса просовывается в выпуск унитаза и проталкивается дальше путем вращения деревянной ручки (рис. 30). При этой операции гибкий трос просовывается до отказа через унитаз в канализационную трубу. Если этот прием не помог, то гибкий трос просовывают в канализационную трубу – стояк – через специальное отверстие в ней, так называемую ревизию (рис. 29). Ревизия закрывается в стояке заглушками на 4 болтах. Действительные неполадки чаще всего бывают в виде износа и образования течи в выпуске из унитаза – в месте присоединения его к канализационной трубе – в резиновом патрубке. В этом случае резиновый патрубок подлежит замене на новый.

Рис. 30. Прочистка засора через унитаз с помощью гибкого троса

Кроме того, в унитазе часто возникают неполадки из-за износа резиновых муфт – в месте присоединения смывных труб к унитазам. Для устранения течи в указанном месте производят замену резиновой муфты на новую. При замене резинового патрубка и муфты на новые с последующим монтажом в системе унитаза обязательно применяют герметик с промазкой в местах соединений для обеспечения герметичности и предупреждения протечек. Иногда в верхней части унитаза образуются небольшие сколы или трещины. Такие дефекты в унитазе устраняют, применяя специальный клей для фарфора. При наличии больших сколов и трещин в корпусе унитаза производят его замену на новый.

Как заменить унитаз

Неисправный унитаз заменяют на новый путем его демонтажа: во-первых, отвинчивают шурупы в постаменте унитаза (т. е. освобождают от крепления его основание); во-вторых, освобождают от крепления на полочке унитаза и снимают смывной керамический (металлический или пластмассовый) бачок. Перед этим предварительно перекрывают подачу воды в бачок и освобождают его от воды. В-третьих, снимают резиновые муфты и патрубки в верхней и нижней частях унитаза. После выполнения всех перечисленных выше операций удаляют неисправный унитаз и ставят новый.

Профилактика унитаза

Для предупреждения сколов и трещин в корпусе унитаза от непредвиденных случайных механических воздействий в виде ударов во время падения на него твердых предметов его необходимо закрывать специальной крышкой, которая должна находиться рядом со смывным бачком.

Специальные крышки к унитазу продаются в магазинах сантехнических материалов. Такие крышки представляют собой комплект, состоящий из сиденья и собственно крышки.

Некоторые предприятия – производители сантехнических изделий изготавливают указанные выше комплекты к унитазам из прессованных древесных опилок, пропитанных бесцветным или цветным лаком.

  • Читать дальше
  • 1
  • ...
  • 10
  • 11
  • 12
  • 13
  • 14
  • 15
  • 16
  • 17
  • 18
  • 19
  • 20
  • ...

Ебукер (ebooker) – онлайн-библиотека на русском языке. Книги доступны онлайн, без утомительной регистрации. Огромный выбор и удобный дизайн, позволяющий читать без проблем. Добавляйте сайт в закладки! Все произведения загружаются пользователями: если считаете, что ваши авторские права нарушены – используйте форму обратной связи.

Полезные ссылки

  • Моя полка

Контакты

  • chitat.ebooker@gmail.com

Подпишитесь на рассылку: