Вход/Регистрация
Сантехника: выбираем и подключаем самостоятельно
вернуться

Алексеев Виктор Константинович

Шрифт:

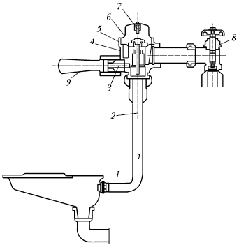
Рис. 25. Универсальный смывной полуавтоматический кран для подключения к унитазам и напольным чашам (мини-унитазам). I вариант: место подсоединения к напольной чаше. Универсальный смывной полуавтоматический кран: 1 – спусковая труба; 2 – резиновый стакан; 3 – узел пуска; 4 – корпус; 5 – мембрана; 6 – крышка; 7 – регулировочный винт; 8 – регулировочный вентиль; 9 – ручка пуска

В настоящее время наиболее часто применяется смывной полуавтоматический латунный мембранный кран с гибкой подводкой Бу 25 мл. Этот кран ставится не только (рис. 25) к чугунной эмалированной напольной чаше (мини-унитазу), но и к обычным керамическим унитазам вместо смывного бачка. Такие унитазы со смывным краном имеют большие преимущества по надежности в эксплуатации по сравнению с унитазами в комплекте со смывными бачками.

Составные части унитаза

Большинство моделей унитазов в нижней части имеют постамент с отверстиями под крепление к полу высокопрочными шурупами с увеличенной головкой (рис. 23).

В верхней части унитаз имеет чашу (рис. 23) с отверстием для приема смыва и выпуск из него – сифон – в нижней (рис. 23).

В верхней части унитаз имеет полочку (цельнолитую или приставную) для крепления смывного бачка (рис. 23). От смывного бачка к унитазу идет выпуск – резиновая трубка или патрубок (рис. 23) для подачи воды в чашу унитаза.

К канализационной трубе (рис. 23) унитаз подключается посредством сифона и патрубка (рис. 23) – на конце сифона находится резиновой патрубок.

Установка унитаза

Наиболее легко устанавливаются унитазы, имеющие в основании (нижней части) постаменты с отверстиями (2 или 4) под шурупы для крепления к полу. Если пол в туалете деревянный, то унитаз крепится при помощи высокопрочных шурупов с увеличенной головкой без особых усилий с использованием отвертки с плоской рабочей частью или крестообразной (т. е. в соответствии с видом головки шурупов). В тех случаях, когда пол бетонный, предварительно электродрелью со сверлом по бетону (сверло с твердосплавным наконечником) делаются гнезда под дюбель-шурупы. После закрепления унитаза к полу его присоединяют к канализационной трубе посредством резинового выпуска – патрубка, одеваемого на конец сифона унитаза.

Последняя операция – в верхней части на полочку унитаза ставится керамический смывной бачок и закрепляется винтами с увеличенной головкой. После этого выпуск смывного бачка соединяется с вводом в унитаз посредством резиновой трубки или патрубка (рис. 23).

Некоторые виды унитазов не имеют постаментов с отверстиями под шурупы, что намного усложняет их установку. Для надежного крепления к полу такого унитаза (без постамента) предварительно делается гнездо в полу по разметке под размер его основания. Гнездо выдалбливается в полу с применением специальных инструментов, в частности электроперфоратора (рис. 26).

Рис. 26. Инструменты для установки унитаза а) электроперфоратор с пикой для долбления гнезда под унитаз в бетонном полу; б) стамеска для долбления гнезда в деревянном полу

Электроперфоратор похож по внешнему виду на электродрель, но вместо сверла имеет долбежную пику с острым концом для долбления бетонных или каменных полов. Гнездо в деревянном полу делается при помощи электродрели со сверлом и широкой столярной стамески. При этом сначала сверлом сверлят пол по контуру разметки основания унитаза, а затем в середине, после чего стамеской расчищают (срубают) места сверления. В комплекте со стамеской используют обычный молоток. Молотком слегка ударяют по ручке стамески и срезают куски дерева в контуре гнезда под унитаз. Существует и другой вариант установки унитаза без постамента на деревянный пол. В этом варианте долбление пола не делают, а производят армирование вокруг основания унитаза гвоздями и стальной мягкой проволокой диаметром 2 мм. Для этого по периметру основания вбивают молотком несколько рядов гвоздей длиной 80–90 мм (рис. 27), но не до шляпки!

Рис. 27. Устройство гнезда под унитаз без постамента на деревянном полу с применением гвоздей, стальной проволоки и раствора цемента с песком и эмульсией ПВА

Забитые гвозди загибают плоскогубцами и обматывают стальной проволокой. После выполнения армирования гвоздями и проволокой в гнездо устанавливают унитаз (примечание: шляпки гвоздей не должны касаться поверхности основания унитаза!) и всю эту конструкцию заливают цементным раствором. Цементный раствор готовят так: берут 2 кг цемента марки М-400 (портланд-цемент) и 2 кг песка (речного или горного), перемешивают все это в тазу или кастрюле (ведре) и добавляют воду до получения кашеобразной массы (густой) и 200 г эмульсии ПВА. Полученным раствором заполняют всю армированную конструкцию в виде конуса (рис. 27), фиксируя при этом положение унитаза.

Вместо гвоздей можно применять и шурупы длиной 70–80 мм, не завинчивая их до конца на 40–50 мм. Шурупы также завинчивают в 2–3 ряда и обматывают стальной проволокой диаметром 2 мм (мягкой), после чего заливают цементным раствором всю армированную конструкцию с фиксацией унитаза.

Рис. 28. Электролобзик, применяемый для вырезания гнезда в толстой клееной фанере под унитаз. 1 – унитаз; 2 – резиновая прокладка; 3 – «гнездо» из фанеры; 4 – шурупы; 5 – электролобзик

Существует еще один вариант фиксации унитаза при его установке в туалете квартиры (или частного жилого дома). Этот вариант заключается в использовании клееной фанеры толщиной 20–25 мм для закрепления основания унитаза в нужном положении. Для этого берется лист фанеры размером 1 X 1 м толщиной 20–25 мм, на который ставится унитаз и очерчивается карандашом или маркером контур его основания. Далее с помощью электролобзика (он похож на электродрель, только вместо сверла (рис. 28) стоит короткая пилка с острыми небольшими зубьями) вырезается гнездо под унитаз.

  • Читать дальше
  • 1
  • ...
  • 9
  • 10
  • 11
  • 12
  • 13
  • 14
  • 15
  • 16
  • 17
  • 18
  • 19
  • ...

Ебукер (ebooker) – онлайн-библиотека на русском языке. Книги доступны онлайн, без утомительной регистрации. Огромный выбор и удобный дизайн, позволяющий читать без проблем. Добавляйте сайт в закладки! Все произведения загружаются пользователями: если считаете, что ваши авторские права нарушены – используйте форму обратной связи.

Полезные ссылки

  • Моя полка

Контакты

  • chitat.ebooker@gmail.com

Подпишитесь на рассылку: