Вход/Регистрация
Сантехника: выбираем и подключаем самостоятельно
вернуться

Алексеев Виктор Константинович

Шрифт:

От чего зависит выбор того или иного вида

Выбор раковины и мойки диктуется прежде всего размерами помещения, в которых они устанавливаются, – кухни и ванной комнаты. На выбор влияют также финансовые возможности потребителя-покупателя. Кроме того, при выборе раковины и мойки обязательно учитывают общее дизайнерское оформление кухни и ванной комнаты, расположение других сантехнических приборов: ванны, душевой кабины (при совмещенном туалете и ванной учитывается и наличие унитаза, биде); на кухне – размеры и расположение газовой плиты.

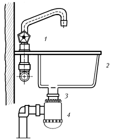
Составные части раковины и мойки

Раковины и мойки при всем их многообразии по конструкции и материалам, из которых они изготовлены, имеют общие элементы: чаши для приема сточной воды (после умывания или мытья посуды), выпуски приварные или съемные (разборные), сифоны (в основном у моек), отверстия – гнезда для установки смесителя.

Выпуск (рис. 17) устанавливается под отверстием раковины или мойки на резьбе или приваривается сваркой с применением электродов и бытового сварочного аппарата. К выпуску на резьбе присоединяется сифон, который является гидрозатвором и накопителем различных загрязнений после мытья посуды (рис. 17).

Раковины и мойки крепятся к стенам при помощи стальных или чугунных кронштейнов. Стальные эмалированные мойки бывают встраиваемые и унифицированные (рис. 17).

Чугунные эмалированные мойки изготавливают (в небольших количествах) в трех вариантах (рис. 17): с одной чашей, с двумя чашами и со сливной доской.

Рис. 17. Составные части раковины и мойки: 1 – кран; 2 – мойка; 3 – выпуск; 4 – сифон

Нержавеющие стальные мойки, кроме основной чаши, имеют также устройства для размещения моющих средств и посуды (рис. 17).

Как установить раковину

Порядок установки раковины зависит от ее вида, формы и размеров (т. е. общего конструктивного устройства). Раковины обычно крепятся к стене специальными кронштейнами. Поэтому, приобретая раковину, необходимо выяснить способ ее крепления. Кронштейны крепятся к стене дюбель-шурупами (рис. 18), при этом в стене предварительно электродрелью высверливаются отверстия диаметром чуть меньше диаметра дюбель-шурупа специальным сверлом по бетону (такое сверло имеет твердосплавленую напайку). Дюбель-шуруп вставляется в отверстие и завинчивается при помощи отвертки. Проще устанавливаются раковины, не связанные с установкой смесителя (рис. 18): смеситель просто крепится к стене над раковиной. Сложнее всего устанавливается раковина в комплекте со смесителем (рис. 18).

Рис. 18. Установка раковин: 1 – кронштейн; 2 – дюбель-шуруп отвертка; 3 – гибкая подводка к смесителю сифон канализационная труба смеситель

В нижней части раковины типа «Тюльпан» монтируется гибкая подводка к смесителю горячей и холодной воды (в поперечном разрезе нижняя часть раковины имеет вид полусферы – рисунке 18 разрез по линии А-А). Стойка – нижняя часть раковины – закрывает подводку, служит элементом дизайна. К смесителям от вводных труб с горячей и холодной водой (их сантехники называют «гребенкой») монтируется на резьбе с подмоткой гибкая подводка (рис. 18). Очень часто раковины устанавливаются не на кронштейнах, а на специальных тумбочках для ванных комнат (рис. 18), где одновременно монтируются и смесители (в специальном гнезде в верхней части тумбочки). Под раковиной после ее предварительной установки монтируется выпуск (для сточной воды) с сифоном, от которого идет отвод в канализационную трубу (рис. 18). Монтаж гибкой подводки производят с применением подмотки.

Как заменить раковину

При замене раковины выполняют следующие действия:

1) демонтируют смеситель, если раковина была установлена в комплекте с ним, а также гибкую подводку к нему;

2) свинчивают сифон.

Только после этого снимают раковину с кронштейнов или с подставки-тумбочки. При демонтаже используют ключи рычажные трубные или разводные гаечные. Самыми удобными в эксплуатации и демонтаже являются так называемые бутылочные сифоны с гибким пластмассовым шлангом (трубкой).

Как заменить вентили, вентильные головки в смесителе

В процессе длительной эксплуатации от воздействия горячей воды, являющейся слабоагрессивной средой, вентили или вентильные головки (в основном) выходят из строя, особенно при частых пусках воды под большим давлением (напором).

Замену вентиля или вентильной головки (рис. 7) производят при предварительном отключении подачи воды (горячей или холодной) в стояке. Демонтаж вентиля или вентильной головки производят ключом разводным гаечным или рычажным трубным (в некоторых случаях применяют также накидные гаечные ключи). Иногда демонтаж вентиля значительно затруднен даже с приложением больших усилий. В этом случае вентиль просто срезается вместе с подводкой электрической отрезной машиной, оснащенной алмазным армированным отрезным кругом (на таких кругах обычно указывается, для какого материала они предназначены).

После срезания вентиля и для установки нового применяются короткий сгон (п. 11 гл. I) и подмотка с герметиком (или просто герметик без подмотки – льна сантехнического).

Какие виды смесителей существуют, в чем их отличия, преимущества и недостатки

Все виды смесителей, использующихся в бытовой сантехнике для моек, раковин-умывальников, ванн и душевых кабин, подразделяются специалистами-сантехниками на 3 группы. Изделия первой группы – «супер-эконом» – продаются в магазинах сантехники по низкой цене, но имеют:

  • Читать дальше
  • 1
  • 2
  • 3
  • 4
  • 5
  • 6
  • 7
  • 8
  • 9
  • 10
  • 11
  • 12
  • ...

Ебукер (ebooker) – онлайн-библиотека на русском языке. Книги доступны онлайн, без утомительной регистрации. Огромный выбор и удобный дизайн, позволяющий читать без проблем. Добавляйте сайт в закладки! Все произведения загружаются пользователями: если считаете, что ваши авторские права нарушены – используйте форму обратной связи.

Полезные ссылки

  • Моя полка

Контакты

  • chitat.ebooker@gmail.com

Подпишитесь на рассылку: