Вход/Регистрация
Водоснабжение, канализация и отопление загородного дома
вернуться

Никитко Иван

Шрифт:

Следует знать, что полиэтиленовые трубы из полиэтилена низкого давления высокой плотности бывают двух видов: напорные«питьевые» и технические. Напорные трубы изготавливаются из первичного полиэтилена, а технические – результат переработки вторичного сырья. Эксплуатационные свойства этих труб различны. Технические трубы предназначены для экранирования проводки, устройства вентиляции внутри здания. Они не рассчитаны на постоянное давление, которое присутствует в водопроводной системе, кроме того, технические трубы не выдерживают воздействие ультрафиолетового излучения, то есть быстро разрушаются под действием солнечных лучей и поэтому непригодны для устройства поливочного водопровода. Но цена их гораздо ниже, чем напорных труб, и именно это соблазняет недальновидных покупателей. К тому же если продавец недобросовестен, то он может уверить неспециалиста, что напорные и технические полиэтиленовые трубы обладают почти одинаковыми эксплуатационными характеристиками, различаясь лишь в мелочах. Зато какая привлекательная цена! Однако «мелочи» в данном случае могут привести к тому, что водопровод придется сооружать дважды.

Внешне напорные и технические полиэтиленовые трубы легко отличить по цвету: технические обычно окрашены в серый цвет, а напорные бывают черными, белыми и синими. Фальсификаторы, которые хотят выдать технические трубы за напорные и, соответственно, продать дороже, перекрашивают их в черный цвет. Поэтому вне зависимости от цвета труб нужно требовать у продавца сертификат о качестве. Помните: он выдается только на напорные трубы, а на технические – нет.

Если вы хотите устроить с помощью полиэтиленовых труб надземный водопровод (например, для поливки участка), то рекомендуется брать для этого трубы черного цвета. Обычно предпочтение отдается белым трубам – они выглядят эстетичнее, участок приобретает нарядный вид. Однако при изготовлении черных труб в качестве присадки используется сажа, и это препятствует разрушению полиэтилена под действием солнечной радиации. Синие и белые трубы подобной защиты не имеют и гораздо менее пригодны для сооружения надземного водопровода.

Для тех, кто не может отказаться от излюбленного стереотипа о металлических трубах как самых прочных и долговечных, рекомендуются трубы из металлопластика. Эти трубы достаточно бюджетны (дороже пластиковых, но существенно дешевле металлических), просты в монтаже, экологически безопасны и не подвержены коррозии – они обладают всеми достоинствами пластиковых труб. Единственный минус труб из металлопластика – соединения. Возможно применение только металлических фитингов, а они, к сожалению, не так коррозионно-устойчивы, как металлопластик.

Примечание

Фитингами называются крепежные части водопровода, которые устанавливаются в местах соединений, разветвлений и поворотов труб.

Внутренний водопровод

Внутренний водопровод предназначен для обслуживания основных сантехнических узлов в доме. Это система, включающая в себя водомерные и разводящие узлы, стояки, вводы в дом (обычно имеются два ввода), подводки к санитарным устройствам (краны, сливные бачки и т. д.), различные насосные установки, если в них есть необходимость.

В зависимости от расположения магистральных трубопроводов, водопроводы бывают с нижней и верхней разводкой. Тип внутреннего водопровода следует выбирать с учетом условий подачи и расхода воды, размещения водоподающих установок (Рис. 1.33).

При нижней разводке трубы помещают в подвальном помещении здания. Если дом имеет два и более этажа, санитарно-технические устройства и соответствующая водоразборная арматура обычно размещаются строго друг над другом (при этом прокладка трубопроводов идет по кратчайшей траектории). Но в частном загородном доме кратчайшая траектория не является обязательным условием, ведь санитарно-технические устройства на разных этажах могут быть различными (например, на первом этаже располагаются кухня, туалет, ванная комната с душевой кабиной и ванной, а на втором – ванная комната только с душевой кабиной и туалет, причем эти помещения примыкают к спальной комнате). Так что кратчайшую траекторию приходится рассчитывать, исходя из пожеланий в размещении устройств и водоразборной арматуры.

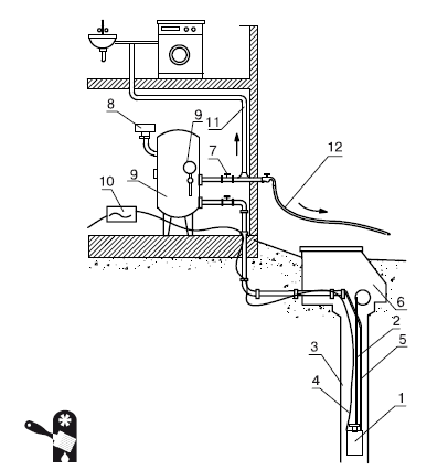
Рис. 1.33.Водоснабжение загородного дома от скважины: 1 – погружной насос для подъема воды из скважины; 2 – стальной трос; 3 – скважина; 4 – электрический кабель; 5 – водопроводный шланг; 6 – приямок; 7 – запорный вентиль; 8 – реле давления; 9 – манометр; 10 – напорный гидробак; 11 – трубы внутреннего водопровода; 12 – вывод воды для использования на участке

Системы водоснабжения различаются в зависимости от требуемого напора:

система под напором – не рекомендуется к применению, если в наружном водопроводе нет гарантии наличия стабильного напора (например, в случае подключения загородного дома к централизованной системе водоснабжения, которая работает не слишком стабильно) – чтобы система под напором работала, напор наружного водопровода должен либо превышать тот напор, который необходим для работы всех водоразборных точек в доме, либо равняться ему; к плюсам такой системы относится ее простота, обычно она используется в малоэтажном строительстве (до 5–6 этажей);

система с водонапорным баком – считается устаревшей и применяется все реже, обычно ее используют, если напор в точках водоразбора нестабилен и превышает нужный при небольшом водопотреблении, а при активном – его не хватает; основной недостаток системы с водонапорным баком – наличие бака, который устанавливается под крышей дома, что требует соответствующего усиления перекрытий, а в некоторых случаях и фундамента;

повысительные насосные установки – используются в случае, если водопотребление является равномерным, а напор в наружном водопроводе недостаточен (подобное обычно относится к случаю подключения к централизованной системе водоснабжения); плюсом такой системы является то, что для нее не требуется ни усиливать перекрытия, ни перестраивать фундамент, установка располагается в подвале и не занимает много места;

  • Читать дальше
  • 1
  • ...
  • 16
  • 17
  • 18
  • 19
  • 20
  • 21
  • 22
  • 23
  • 24
  • 25
  • 26
  • ...

Ебукер (ebooker) – онлайн-библиотека на русском языке. Книги доступны онлайн, без утомительной регистрации. Огромный выбор и удобный дизайн, позволяющий читать без проблем. Добавляйте сайт в закладки! Все произведения загружаются пользователями: если считаете, что ваши авторские права нарушены – используйте форму обратной связи.

Полезные ссылки

  • Моя полка

Контакты

  • chitat.ebooker@gmail.com

Подпишитесь на рассылку: