Вход/Регистрация
Водоснабжение, канализация и отопление загородного дома
вернуться

Никитко Иван

Шрифт:

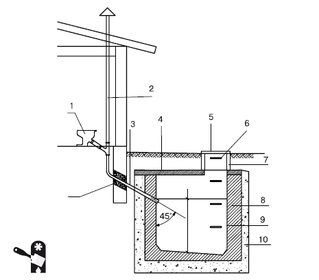
Когда сама яма готова, устраивается перекрытие. Самый простой и дешевый вариант – перекрытие из деревянных щитов с гидроизоляцией из рубероида (щиты просто обиваются им). У такого перекрытия имеется существенный недостаток: оно недолговечно (дерево подвержено гниению, а рубероид в условиях агрессивной среды быстро теряет гидроизолирующие свойства). Сложнее, но гораздо надежнее изготовить перекрытие из железобетона (Рис. 2.2).

Рис. 2.2.Подключение выгребной ямы к внутренней канализации дома: 1 – сантехническое оборудование в доме; 2 – вентиляционная труба; 3 – стояк; 4 – плита перекрытия; 5 – чугунная крышка; 6 – ступеньки; 7 – кирпичная кладка; 8 – кирпичные или бетонные стены; 9 – цементная штукатурка; 10 – глиняный замок

Для последующей очистки выгребной ямы в перекрытии предусматривается люк, обычно размером 70 x 70 см. Люк должен иметь две крышки: одна располагается над перекрытием, а вторая – на уровне почвы. Перекрытие изолируется слоем жирной глины (0,25–0,3 м) и засыпается грунтом.

Минусом выгребной ямы является необходимость контроля ее заполнения. Когда выгребная яма заполняется, нужно вызывать ассенизационную машину для очистки – следовательно, приходится еще устраивать подъездную дорожку к яме (Рис. 2.3). Если проживание в доме сезонное или наездами, то очистка требуется раз в несколько сезонов. Если в доме даже при сезонном использовании проживает несколько человек, то очищать выгребную яму приходится раз в сезон.

Рис. 2.3.Очистка выгребной ямы

Если дом предназначен для постоянного проживания или семья довольно большая, то одной выгребной ямой не обойтись либо придется очищать ее несколько раз в месяц, да еще и ограничивать использование воды для бытовых нужд (например, отказаться от принятия ванны или душа, заменив эту процедуру легкими обтираниями губкой). В этом случае проблему сточных вод придется решать с помощью индивидуальных очистных сооружений.

Обычно индивидуальные очистные сооружения представляют собой септики фильтрующий колодец( фильтрующие траншеи, поля подземной фильтрации– в зависимости от объема сточных вод, подлежащих очистке) (Рис. 2.4).

Септик – это емкость для отстаивания и первичной очистки сточных вод. Такая емкость может быть изготовлена из полиэтилена, пластика, металла, бетона. Самыми дешевыми являются септики из полиэтилена и пластика. Они имеют еще один плюс: их легко устанавливать (эти септики немного весят). К минусам полиэтиленовых и пластиковых септиков относится небольшой срок эксплуатации – материалы довольно хрупкие и подверженные внешним воздействиям (особенно сильно полиэтилен и пластик разрушаются в морозные зимы – материалы обладают низкой морозоустойчивостью). Так что сэкономленное при приобретении полиэтиленового или пластикового септика приходится доплачивать за счет частой замены.

Рис. 2.4.Однокамерный поверхностный септик: 1 – септик; 2 – ввод стоков в септик из дома; 3 – вентиляция; 4 – вывод осветленных сточных вод в фильтрующий колодец

Металлические септики отличаются прочностью, но они подвержены коррозии, особенно в условиях агрессивной среды сточных вод. Можно использовать септики из нержавеющей стали, но цена на них весьма далека от демократичной.

Оптимальным по соотношению «цена/качество» является бетонный септик. К плюсам бетона относится его устойчивость к неблагоприятным воздействиям внешней среды, бетон не гниет и не ржавеет. Недостатком бетонного септика является сложность установки, но это компенсируется длительным сроком эксплуатации. Единственная проблема бетонного септика – гигроскопичность материала, поэтому требуется устройство надежной гидроизоляции корпуса.

Стандартный септик состоит из трех камер, соединенных друг с другом. Соединение выполняется таким образом, что скорость перемещения стоков между камерами очень мала, и они могут отстаиваться, разделяясь на фракции. При этом твердая фракция выпадает в виде осадка на дно, а газообразная выходит из септика, перемещение продолжает жидкая фракция. К моменту выхода сточных вод из септика практически вся твердая фракция удаляется, а воды осветляются примерно до 65 %. Такое осветление еще недостаточно, чтобы сточные воды можно было сразу сбрасывать в водоем или даже просто в грунт там, где они могут просочиться в систему водоснабжения или даже в сад. Поэтому после септика сточные воды должны отводиться для дальнейшей фильтрации либо в фильтрующие колодцы, либо в фильтрующие канавы, либо на поле поглощения.

Следует помнить, что септики нуждаются в периодическом обслуживании, так как осевшую на дно твердую фракцию необходимо регулярно удалять. Периодичность обслуживания – примерно раз в год (в зависимости от объема септика и объема сточных вод). Выбирая септик, необходимо учитывать суточный объем сточных вод: в соответствии с санитарными нормами анаэробный процесс их брожения (процесс, протекающий при отсутствии кислорода) должен длиться трое суток, поэтому объем септика должен быть как минимум в три раза больше, чем суточный объем сточных вод.

Фильтрующий колодец – простейший и самый малогабаритный вариант подземной фильтрации сточных вод, поступающих из септика (Рис. 2.5, 2.6).

Фильтрующий колодец используется, если объем сточных вод не превышает 1 м 3. При больших объемах следует использовать фильтрующую траншею или поле поглощения (фильтрующее поле) (Рис. 2.7).

Поле поглощения можно устроить, если грунт на участке песчаный, а грунтовые воды залегают достаточно глубоко – не выше 1,5 м (чтобы не было инфильтрации грунтовых вод сточными водами). Поскольку в России большинство грунтов – глина и суглинок, приходится устраивать искусственный поглощающий слой из песка и щебня.

  • Читать дальше
  • 1
  • ...
  • 20
  • 21
  • 22
  • 23
  • 24
  • 25
  • 26
  • 27
  • 28
  • 29
  • 30
  • ...

Ебукер (ebooker) – онлайн-библиотека на русском языке. Книги доступны онлайн, без утомительной регистрации. Огромный выбор и удобный дизайн, позволяющий читать без проблем. Добавляйте сайт в закладки! Все произведения загружаются пользователями: если считаете, что ваши авторские права нарушены – используйте форму обратной связи.

Полезные ссылки

  • Моя полка

Контакты

  • chitat.ebooker@gmail.com

Подпишитесь на рассылку: