Вход/Регистрация
Водоснабжение, канализация и отопление загородного дома
вернуться

Никитко Иван

Шрифт:

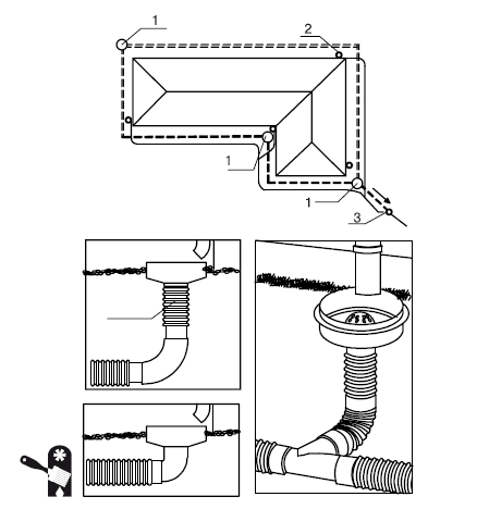
Если участок достаточно велик и на нем собирается много талых и дождевых вод, то перекапывать его разнообразными канавками – не слишком хорошая идея. Проще установить закрытую систему ливневой канализации в упрощенном виде: уложить в выкопанные канавки трубы, которые будут доставлять талые и дождевые воды за пределы участка (Рис. 2.11). При этом коллекторный колодец находится уже за пределами участка и является частью общественной системы ливневой канализации.

При устройстве ливневой канализации закрытого типа необходимо учесть возможную нагрузку на трубы (например, будет над трубами расположена пешеходная или подъездная дорожка, то есть придется ли трубам выдерживать вес человека либо автомобиля). Цена труб различается в зависимости от предполагаемой нагрузки, а соответственно, изменяется стоимость монтажа ливневой канализации.

Рис. 2.11.Устройство ливневой канализации: 1 – дренажный колодец; 2 – воронка для сбора воды с крыши; 3 – коллекторный колодец

Глава 3

Отопление загородного дома

Жилой дом должен иметь систему отопления – это аксиома. Если отопительной системы нет, то это означает не только определенное неудобство проживания (к примеру, если дом используется сезонно – только в теплое время года, то о неудобствах проживания говорить не приходится), но и уменьшение безремонтного срока эксплуатации самого дома: сырость и перепады температуры разрушают стены, кровлю и фундамент. Так что загородный дом желательно снабдить системой теплоснабжения даже в том случае, если вы не планируете проживание в нем в холодные периоды – в таких случаях рекомендуется периодически приезжать и протапливать дом.

Система теплоснабжения включает в себя:

источник теплоты;

трубопроводы;

системы потребления тепла с нагревательными приборами.

Системы теплоснабжения разделяют по радиусу действия:

местные системы теплоснабжения – это системы, в которых совмещается выработка и передача тепла (к примеру, печь, которая является одновременно источником теплоты и нагревательным прибором);

центральные системы теплоснабжения – они снабжают теплом здание любой величины от единого источника (таким источником обычно является отопительный котел);

централизованные – предназначены для снабжения теплом нескольких зданий.

Чаще всего применяется совмещенная прокладка теплопроводов, то есть они прокладываются в проходных каналах вместе с остальными коммуникационными соединениями (водопровод, электрокабели, газопровод). В таких каналах высотой 1,8–2 м обязательно предусматривается вентиляция, а люки выхода устанавливаются по трассе канала через каждые 300 м на глубине 0,5–1 м. Все люки снабжаются откидной лестницей.

Трубопроводы тепловых сетей выполняются из стальных труб диаметром 0,025–0,4 м, устанавливаемых с уклоном 0,002. Вверху размещаются воздухоспусковые устройства, а внизу – дренажные спуски. Запорная арматура располагается на каждом из ответвлений трубопроводов в точках присоединения к магистрали и отдельному зданию.

Внешняя часть теплотрассы (если она требуется – в случае подключения к централизованному источнику) выполняется специалистами, а вот внутренняя требует пристального внимания домовладельца, так как внутри дома система отопления состоит из котла, трубопроводов и радиаторов и от выбора этих элементов зависит не только качество и стоимость сооружения системы теплоснабжения, но и долговременность ее работы, а также – что очень важно – стоимость эксплуатации.

Планируя систему отопления, следует задуматься, какова она будет: с естественной или принудительной циркуляцией теплоносителя.

В системах с принудительной циркуляцией теплоносителя (это может быть как вода, так и антифриз) теплоноситель движется по трубам и отопительным радиаторам под действием циркуляционного насоса. Системы с естественной циркуляцией еще называют гравитационными, так как теплоноситель при подобной схеме осуществляет движение под действием силы тяжести, за счет разницы плотности теплоносителя в подающей и обратной линиях, так как в подающей линии теплоноситель горячий, а в обратную поступает уже остывшим, холодным. Но при этом отопительные приборы должны располагаться выше котла хотя бы на 0,5 м, то есть при использовании гравитационной системы отопления практически невозможно или очень сложно обеспечить отопление того этажа, где расположен котел. Поэтому котел приходится располагать в подвале или гараже (если первым уровнем дома является гараж), при этом данные помещения будут неотапливаемыми.

Система с естественной циркуляцией теплоносителя имеет существенный плюс: она не является электрозависимой и работает исключительно за счет наличия разницы температур (соответственно – плотности) в подающей и обратной линиях. Но конструктивные особенности этой системы таковы, что она подходит только для небольших зданий (максимальная общая отапливаемая площадь – 150 м 2) при наличии не более двух отапливаемых уровней. Если ваш загородный дом больше, то о системе с естественной циркуляцией можно не думать – она не будет работать.

Но даже если площадь дома невелика и позволяет установить систему с естественной циркуляцией теплоносителя, следует знать, что для нее необходимы трубы с большим сечением (минимально диаметром 50 мм) – они позволяют теплоносителю свободно циркулировать, но являются довольно дорогими. Чем меньше диаметр трубы, тем выше гидравлическое сопротивление системы (Рис. 3.1), а с повышением гидравлического сопротивления понижается скорость протока теплоносителя и увеличивается скорость остывания теплоносителя в отопительной системе (возрастает разница температур между теплоносителем в системе и котле). Иначе говоря, при меньшем диаметре трубы теплоноситель нуждается в более интенсивном подогреве, и, как следствие, котел расходует больше топлива.

  • Читать дальше
  • 1
  • ...
  • 24
  • 25
  • 26
  • 27
  • 28
  • 29
  • 30
  • 31
  • 32
  • 33
  • 34
  • ...

Ебукер (ebooker) – онлайн-библиотека на русском языке. Книги доступны онлайн, без утомительной регистрации. Огромный выбор и удобный дизайн, позволяющий читать без проблем. Добавляйте сайт в закладки! Все произведения загружаются пользователями: если считаете, что ваши авторские права нарушены – используйте форму обратной связи.

Полезные ссылки

  • Моя полка

Контакты

  • chitat.ebooker@gmail.com

Подпишитесь на рассылку: