Вход/Регистрация
12,7-мм пулеметы обр. 1938/46 г. и 1938 г. Наставление по стрелковому делу
вернуться

Министерство обороны СССР

Шрифт:
ПРИЦЕЛ

61. Прицел совместно с мушкой служит для придания пулемету соответствующих углов прицеливания при стрельбе на различные расстояния. Он состоит из основания прицела, прицельной рамки, пружины прицельной рамки, толкателя, хомутика и ходового винта с маховичком.

Основание прицела (рис. 19) нижней частью вдвинуто в продольный паз верхней стенки ствольной коробки и закреплено двумя заклепками. Основание прицела имеет проушины для шарнирного соединения с прицельной рамкой, гнездо для пружины и толкателя прицельной рамки и паз для зуба защелки приемника.

Рис. 19. Основание прицела:

1 — проушины; 2 — гнездо для пружины и толкателя; 3 — паз для зуба защелки приемника

Рис. 20. Прицельная рамка:

1 — ушко; 2 — ограничительный выступ; 3 — ходовой винт с маховичком; 4 — деления с цифрами; 5 — ось

Прицельная рамка (рис. 20) имеет:

— ушко со сквозным отверстием для соединения с основанием прицела при помощи оси; нижняя стенка ушка является пяткой для упора толкателя прицельной рамки;

— ограничительный выступ для установки прицельной рамки в вертикальном положении;

— паз для ходового винта прицельной рамки;

— ходовой винт с маховичком для точной установки хомутика на нужное деление рамки;

— деления с цифрами (на правой стойке четные от 0 до 32, на левой стойке нечетные от 0 до 33); деления и цифры означают расстояния в сотнях метров.

Пружина прицельной рамки (рис. 21) цилиндрическая. Она удерживает прицельную рамку в вертикальном и горизонтальном положениях.

Нижним концом пружина упирается в дно гнезда основания прицела, верхним — в дно толкатель.

Толкатель (рис. 22) представляет собой полый цилиндр с дном. Он устанавливается так, чтобы пружина прицельной рамки сжималась между дном толкателя и дном гнезда основания прицела.

Рис. 21. Пружина прицельной рамки

Рис. 22. Толкатель

Рис. 23. Хомутик:

1 — защелка; 2 — пружина; 3 — неподвижный целик

Хомутик (рис. 23) имеет защелку с пружиной для удержания его на прицельной рамке в приданном ему положении и неподвижный целик с прорезью для прицеливания.

ЗАТВОРНАЯ РАМА

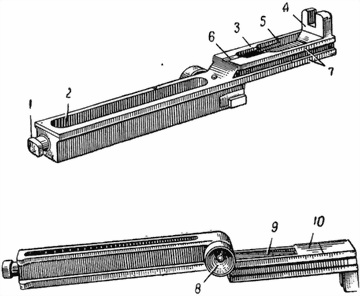
62. Затворная рама (рис. 24) соединяет подвижные части пулемета. Затворная рама имеет:

— в передней части — сухарь для соединения с муфтой и продольное окно для прохода гильз;

— в средней части — поперечное отверстие для рукоятки рамы;

— в задней части сверху — плоскость, на которую ложится затвор своей нижней поверхностью, и стойку с вырезом для соединения с головкой ударника; плоскость имеет фигурный выем для нижнего выступа затвора и нижних выступов боевых упоров и паз для переднего выступа затвора;

— в задней части снизу — скошенную выемку по которой скользит шептало; в выемку вклепан вкладыш, передний край которого образует боевой взвод;

— по бокам — продольные выступы для движения по продольным пазам ствольной коробки.

Рис. 24. Затворная рама:

1 — сухарь; 2 — продольное окно; 3 — плоскость; 4 — стойка с вырезом; 5 — фигурный выем; 6 — паз для переднего выступа затвора; 7 — продольные выступы; 8 — рукоятка рамы; 9 — скошенная выемка; 10 — вкладыш

63. Шток с газовым поршнем (рис. 25) предназначается для передачи действия части пороховых газов на затворную раму. Шток имеет:

— на переднем конце два направляющих кольцевых выступа и газовый поршень, на торце которого сделана выемка;

— в средней части четыре выема (долы) для облегчения;

— на заднем конце два поперечных выема под ключ и ленточную резьбу для соединения с муфтой;

Рис. 25. Шток с газовым поршнем:

  • Читать дальше
  • 1
  • ...
  • 7
  • 8
  • 9
  • 10
  • 11
  • 12
  • 13
  • 14
  • 15
  • 16
  • 17
  • ...

Ебукер (ebooker) – онлайн-библиотека на русском языке. Книги доступны онлайн, без утомительной регистрации. Огромный выбор и удобный дизайн, позволяющий читать без проблем. Добавляйте сайт в закладки! Все произведения загружаются пользователями: если считаете, что ваши авторские права нарушены – используйте форму обратной связи.

Полезные ссылки

  • Моя полка

Контакты

  • chitat.ebooker@gmail.com

Подпишитесь на рассылку: