Вход/Регистрация
Водоснабжение, канализация и отопление загородного дома
вернуться

Никитко Иван

Шрифт:

Выбирая газовый котел, следует также обратить внимание на возможность регулирования мощности. Наиболее простой и дешевый вариант – одноступенчатый газовый котел, то есть тот, в котором регулировка мощности не предусмотрена, он работает в одном режиме (на одной ступени). Но, сэкономив деньги на приобретении котла, приходится платить потом: одноступенчатые котлы быстрее многоступенчатых выходят из строя, в них больший расход газа (за счет постоянной работы на повышенной мощности и частоты включений/выключений горелки). Такие котлы выбрасывают больше дымовых газов и различных вредных веществ. Двухступенчатый котел, в котором предусмотрена работа на двух уровнях мощности, дает существенную экономию при эксплуатации по сравнению с одноступенчатым котлом – его срок эксплуатации увеличивается примерно на 70 %, при этом существенно экономится газ (за счет пониженного расхода на первой ступени с малой мощностью). Еще более эффективны в эксплуатации газовые котлы, имеющие модуляцию мощности, то есть плавное ее регулирование.

В зависимости от того, какую вы запланировали систему отопления, можно выбрать либо одноконтурный, либо двухконтурный газовый котел. Последний обеспечит наличие в доме не только отопления, но и горячей воды. Такие котлы выпускаются в двух вариантах: со встроенным либо бойлером, либо змеевиком. Котлы со встроенным бойлером массивнее, так как горячая вода готовится в нем, а в котлах со встроенным змеевиком подогрев воды осуществляется в проточном режиме.

В последнее время рынок предлагает не только стандартные газовые котлы, но и конденсационные – своеобразный аналог пиролизных котлов, только в «газовом» исполнении. Подобно тому как в пиролизных котлах происходит горение не только древесины, но и древесных газов, в конденсационных газовых котлах горит не только природный газ, но и отработанные газы.

У обычных газовых котлов отработанные газы (продукты горения природного газа) выводятся через дымоход или вытяжные каналы. В конденсационных газовых котлах имеется дополнительный теплообменник, через который проходят отработанные газы. В теплообменнике происходит конденсация отработанных газов, и содержащееся в этой отработке тепло используется. Такая конструкция котла значительно повышает КПД и снижает расход топлива. Экономия топлива составляет около 30 % в сравнении со стандартными газовыми котлами. Правда, цена конденсационных газовых котлов почти на 20 % выше, чем у обычных, но эта переплата – лишь первичные затраты на приобретение оборудования, которые достаточно быстро окупаются в процессе эксплуатации за счет повышения КПД и снижения расхода топлива.

Электрические котлы

Электрические отопительные котлы(Рис. 3.13) одно время устанавливались очень часто в загородных домах – когда электроэнергия была относительно дешева. Но с подорожанием энергоносителя электрические отопительные котлы стали применяться все реже, и теперь их используют в основном в качестве альтернативного источника тепла, то есть как запасное оборудование, на случай выхода из строя основного котла. К сожалению, отключения электроэнергии происходят в сельской местности гораздо чаще, чем исчезновение других видов энергоносителя.

Рис. 3.13.Электрический котел: 1 – блок нагрева; 2 – расширительный бак; 3 – циркуляционный насос; 4 – блок управления

Электрические отопительные котлы обладают рядом несомненных преимуществ, которые и обеспечили им популярность: они работают бесшумно, не требуют дополнительной звукоизоляции, дополнительного помещения для хранения топлива, нет неприятного запаха (как в случае с котлом, работающим на жидком топливе), им не нужен дымоход, они могут устанавливаться практически в любом помещении (для экономии места электрический котел можно даже повесить на стену); за счет отсутствия открытого пламени повышается безопасность котла, при использовании наружного накопительного бойлера с помощью электрического котла можно обеспечить не только отопление, но и горячее водоснабжение дома.

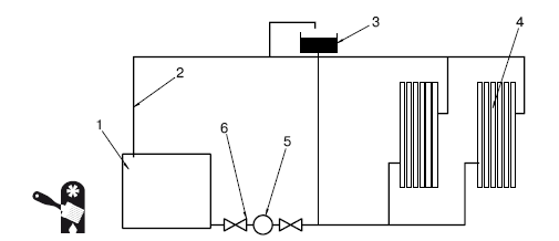
Монтаж электрических отопительных котлов в систему отопления довольно прост, а монтажные схемы обычно имеются в паспорте на котел. Единственное непреложное требование: должен быть обеспечен доступ к котлу для обслуживания и, при необходимости, ремонта. Специалисты рекомендуют устанавливать электрические котлы так, чтобы нижний патрубок располагался ниже, чем отопительные радиаторы, – таким образом улучшается циркуляция воды в системе отопления (Рис. 3.14, 3.15).

Рис. 3.14.Схема подключения электрического котла с открытым расширительным баком: 1 – электрический отопительный котел; 2 – напорный стояк; 3 – открытый расширительный бак; 4 – отопительные радиаторы; 5 – циркуляционный насос; 6 – запорная арматура

Внимание

Подключение электрического котла должно быть выполнено через УЗО (устройство защитного отключения), за исключением электродного электрического котла.

Современные электрические отопительные котлы снабжаются различными датчиками и сервисным оборудованием для удобства эксплуатации и повышения комфорта (Рис. 3.16). Так, автоматизированная система управления позволяет регулировать температуру воздуха в помещении, при этом точность составляет +0,5 °C. Имеется возможность ступенчатой регулировки мощности, управления циркуляционным насосом, внешняя индикация позволяет оценивать работу котла и т. д. Кроме того, большинство производителей оснащают электрические отопительные котлы релейной системой управления, что снижает чувствительность оборудования к перепадам напряжения в сети (особенно актуально для сельской местности России, где перепады напряжения – дело обычное). Современные электрические котлы могут использовать в качестве теплоносителя как воду, так и антифриз – выпускаются различные варианты.

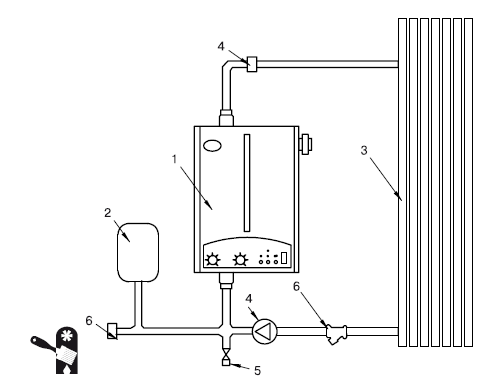
Рис. 3.15.Схема подключения отопительного котла с закрытым расширительным баком: 1 – электрический отопительный котел; 2 – закрытый расширительный бак; 3 – отопительные радиаторы; 4 – циркуляционный насос; 5 – вентиль; 6 – запорная арматура

Примечание

Выбирая электрический котел, следует учитывать, что котлы различных производителей могут существенно отличаться друг от друга не только по внешнему исполнению, но и по сервисным функциям.

  • Читать дальше
  • 1
  • ...
  • 32
  • 33
  • 34
  • 35
  • 36
  • 37
  • 38
  • 39
  • 40
  • 41
  • 42
  • ...

Ебукер (ebooker) – онлайн-библиотека на русском языке. Книги доступны онлайн, без утомительной регистрации. Огромный выбор и удобный дизайн, позволяющий читать без проблем. Добавляйте сайт в закладки! Все произведения загружаются пользователями: если считаете, что ваши авторские права нарушены – используйте форму обратной связи.

Полезные ссылки

  • Моя полка

Контакты

  • chitat.ebooker@gmail.com

Подпишитесь на рассылку: