Вход/Регистрация
Водоснабжение, канализация и отопление загородного дома
вернуться

Никитко Иван

Шрифт:

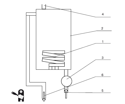
Рис. 3.16.Схема электрического котла с сервисным оборудованием: 1 – бак; 2 – циркуляционный насос; 3 – основание; 4 – крышка бака; 5 – ТЭНы; 6 – предохранительный клапан; 7 – кран удаления воздуха; 8 – аварийный термовыключатель; 9 – пускорегулирующий блок; 10 – панель управления; 11 – термоманометр; 12 – переключатель мощности; 13 – сигнальная лампочка «Сеть»; 14 – сигнальная лампочка «Перегрев»; 15 – терморегулятор капиллярный

К минусам относится не слишком демократичная цена оборудования, а также высокая цена энергоносителя (которая продолжает возрастать). Кроме того, электрический отопительный котел потребляет довольно много энергии, и даже при отсутствии проблем с эксплуатационными расходами можно столкнуться с ситуацией, что такое количество энергии просто не выделят на дом (в сельской местности это не редкость, мощности подстанций ограниченны) или придется отказываться от использования каких-либо других электроприборов и электрооборудования, чтобы обеспечить котел необходимым количеством энергии. Чтобы снизить затраты на отопление, современные электрические котлы оснащаются датчиками, которые обеспечивают автоматическое включение и отключение котла в зависимости от заданной температуры воздуха – это позволяет минимизировать расходы, но они все же остаются довольно высокими, особенно если сравнивать с отопительным оборудованием, использующим другой энергоноситель.

Примечание

Тем, кто всерьез обеспокоен экономичностью отопления и электрозависимостью современного отопительного оборудования, рекомендуется обратить внимание на альтернативные источники энергии: солнечные батареи и ветрогенераторы. При грамотном использовании таких источников можно установить любой электрозависимый отопительный котел и совершенно не волноваться за стоимость электричества или за перебои с подачей электроэнергии.

Еще одна проблема с электрическим отопительным котлом: питающее напряжение 220 В ограничивает мощность котла 5 кВт, то есть можно обогреть помещение максимальной площадью 50 м 2при невысоких потолках. Это в лучшем случае – маленький дачный домик, ведь отапливаемая площадь – не только жилые помещения, но и прихожая, ванная комната, санузел, кухня и т. д. Для отопления загородного дома, даже небольшого, такой мощности явно не хватает. А для установки котла мощностью, превышающей 5 кВт, требуется питание от трехфазного напряжения 380 В. Чтобы установить такое, нужно наличие специальных разрешений и многое другое, даже специфическая прокладка кабеля. Соответственно расходы на организацию отопления возрастают. Из-за подобных проблем электрические котлы и используются по большей части как вспомогательное отопительное оборудование, а в качестве основного котла устанавливаются в том случае, если не предвидится проблем ни с финансами, ни с электроэнергией.

По принципу работы можно выделить три типа электрических котлов: ТЭНовый, электродный и индукционный.

ТЭНовые электрические котлы– это котлы, в которых основным элементом является ТЭН, то есть трубчатый электронагреватель. Его задача – преобразование электрической энергии в тепловую и передача ее теплоносителю (Рис. 3.17).

Рис. 3.17.Устройство ТЭНа: 1 – трубки из стали или меди; 2 – спираль; 3 – диэлектрический наполнитель; 4 – изолятор

ТЭН нагревается по тому же принципу, что и обычная электрическая лампочка: внутри находится спираль, обладающая большим электрическим сопротивлением, которая разогревается под действием электрического тока. Температура, до которой разогревается спираль ТЭНа, велика – +1200… +1500 °C. Спираль передает тепло окружающему ее наполнителю-диэлектрику, который выводит его на поверхность трубки. Температура на поверхности трубки достигает +800 °C.

Принцип работы ТЭНового электрического котла очень прост: теплоноситель нагревается под действием ТЭНа, а затем прокачивается по отопительной системе. ТЭНовые электрические котлы оснащаются автоматическим стравливателем воздуха (Рис. 3.18).

Рис. 3.18.ТЭНовый электрический котел: 1 – ТЭН; 2 – теплообменник; 3 – циркуляционный насос; 4 – автоматический стравливатель воздуха; 5 – вход теплоносителя в котел; 6 – выход теплоносителя из котла

ТЭНовые электрические котлы просты в обслуживании, могут работать на перегретой воде, функционировать и при выходе из строя одного ТЭНа, а мощность котла определяется только напряжением сети и не зависит от вида теплоносителя (возможно с равным успехом использование как воды, так и антифризов). Немаловажным плюсом ТЭНовых электрических котлов является их электробезопасность – по сравнению с другими видами электрических котлов, так как основной электроприбор (нагревательная спираль) не имеет контакта с теплоносителем.

К недостаткам ТЭНовых котлов относится небольшой срок службы, отнюдь не демократичная стоимость (в ТЭНовых котлах используются дорогостоящие материалы, что приводит к высокой стоимости самого изделия). Проблему также представляет накипь, которая образуется при применении в отопительной системе жесткой воды: при наличии накипи более 3 мм ухудшается охлаждение ТЭНа, что приводит к его перегоранию. В результате возникает необходимость использовать в отопительной системе с ТЭНовым котлом воду, прошедшую водоподготовку для уменьшения жесткости, а применение умягчителей воды или дистиллированной воды существенно увеличивает эксплуатационные расходы на отопительную систему. Минусом ТЭНовых электрических котлов является и низкая ремонтопригодность: если ТЭН выходит из строя, то его отремонтировать невозможно, а приходится производить полную замену.

Электродные электрические котлыработают за счет электропроводности воды: вода может проводить электрический ток, в результате чего нагревается (Рис. 3.19).

Рис. 3.19.Принцип работы электродного котла: 1 – катод; 2 – анод; 3 – подача теплоносителя; 4 – выход теплоносителя

На рынке представлены электродные электрические котлы как однофазные, так и трехфазные, мощностью 3–16 кВт. Их основным преимуществом является низкая стоимость. К плюсам электродных котлов относятся простота конструкции, компактные размеры, нетребовательность к жесткости воды (при появлении накипи может снизиться мощность котла, но разрушения электродов не происходит), высокий КПД, малая инертность, нечувствительность к перепадам напряжения (при перепадах напряжения изменяется мощность котла, но не происходит отключения).

  • Читать дальше
  • 1
  • ...
  • 33
  • 34
  • 35
  • 36
  • 37
  • 38
  • 39
  • 40
  • 41
  • 42
  • 43
  • ...

Ебукер (ebooker) – онлайн-библиотека на русском языке. Книги доступны онлайн, без утомительной регистрации. Огромный выбор и удобный дизайн, позволяющий читать без проблем. Добавляйте сайт в закладки! Все произведения загружаются пользователями: если считаете, что ваши авторские права нарушены – используйте форму обратной связи.

Полезные ссылки

  • Моя полка

Контакты

  • chitat.ebooker@gmail.com

Подпишитесь на рассылку: