Вход/Регистрация
Водоснабжение, канализация и отопление загородного дома
вернуться

Никитко Иван

Шрифт:

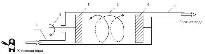
Рис. 3.22.Кавитатор роторного типа:1 – ротор; 2 – вал ротора; 3 – рабочая камера; 4 – входной патрубок рабочей камеры; 5 – выходной патрубок рабочей камеры; 6 – тормозное устройство

Кроме сверхпроизводительности, кавитационный теплогенератор имеет весьма существенный плюс: он не требует топлива как такового. Фактически топливом для него служит рабочая жидкость (чаще всего вода), которую «заставляет работать» тем или иным образом электродвигатель (это может быть создание вихревых закрученных потоков, повышение/понижение давления за счет изменения скорости протекания жидкости и т. д.).

Кавитационный теплогенератор очень просто монтируется в систему отопления (Рис. 3.23), его работа может быть полностью автоматизирована, он экологически безопасен, не требует наличия дымохода и дополнительной звукоизоляции помещения котельной. Кроме того, кавитационный генератор не слишком дорог.

К минусам кавитационного теплогенератора относятся электрозависимость (нет электричества – не работает электродвигатель, насос – и нет работы генератора), высокая стоимость электродвигателя, привода ротора или насоса, а также низкая ремонтопригодность – из-за недостатка специалистов, которые способны помочь в случае поломки оборудования. Правда, существуют кавитационные теплогенераторы, имеющие уникальную гарантию: 25–50 лет с момента запуска (для сравнения: газовые и твердотопливные котлы обычно имеют гарантию до 3 лет с момента запуска). Так что есть шанс, что до выработки теплогенератором гарантийного ресурса появятся и специалисты по данному оборудованию.

Универсальные (многотопливные) котлы

При выборе отопительного оборудования следует помнить, что любой прибор может сломаться. Поэтому оптимально, если в загородном доме имеется не один отопительный котел, а два, работающие на разных видах топлива, при этом один котел устанавливается в качестве основного, а второй – вспомогательного, который подключается лишь тогда, когда с основным возникли какие-то проблемы. С одной стороны подобный подход выглядит излишней перестраховкой – отопительные котлы не так часто выходят из строя, да и стоит оборудование не слишком дешево, чтоб тратить деньги на «мертвый груз», который может и не потребоваться долгое время. Но с другой стороны, только представьте, что именно ваш котел «решил» сломаться, да еще зимой, а мастера придется ждать минимум несколько дней.

Рис. 3.23.Подключение кавитационного теплогенератора в систему отопления:1 – основной насос; 2 – кавитатор; 3 – циркуляционный насос; 4 – электромагнитный клапан; 5 – запорная арматура; 6 – мембранный расширительный бак; 7 – радиатор отопления

Однако, даже если котел не сломался, а благополучно работает, все равно могут возникнуть проблемы, требующие подключения вспомогательного оборудования. Причиной подобного может быть, к примеру, недоступность топлива. В сельской местности падение давления газа в магистрали не исключение, а скорее правило. Так же, как и возможные сбои в поставке газа, различные аварии на магистрали или отключение электричества. В таких случаях резервное отопительное оборудование, работающее на другом виде топлива, становится из роскоши прямой необходимостью.

Есть и еще один нюанс: изменяющаяся цена на различные виды топлива. На сегодняшний день электричество – самый дорогой вариант, но и цены на газ (самый дешевый в настоящее время вид топлива) растут, а цена на солярку такова, что проще установить электрический котел (по крайней мере имеются периоды, когда на электричество действует льготный тариф для отопления, а вот на солярку льготных тарифов нет). Но завтра ситуация может измениться. И подорожает, к примеру, твердое топливо. И котел, сегодня вполне удовлетворяющий требованиям эксплуатационных расходов – удобный и экономичный, начнет «выжигать» громадные дыры в семейном бюджете. Замена котла, модернизация системы отопления под новый тип отопительного оборудования – дело не пяти минут, да и не слишком дешевое. Другое дело, если заранее предусмотреть установку альтернативного оборудования с возможностью переключения с одного котла на другой при необходимости. Это повышает затраты на стадии организации отопления загородного дома, зато одновременно значительно возрастает надежность системы отопления, а также экономичность эксплуатации (всегда можно выбрать именно тот вид топлива, который будет наиболее экономичным на сегодняшний день).

Предусмотрительные владельцы загородных домов, не желая устанавливать несколько котлов разного типа (один в качестве основного, второй – в качестве вспомогательного, «аварийного»), приобретают универсальные (многотопливные) котлы, которые способны работать практически на любом топливе – на твердом, газообразном и жидком. Есть и такие котлы, которые имеют, кроме прочего, встроенные ТЭНы, то есть способны работать и как электрические отопительные котлы, и как твердотопливные, жидкотопливные, и как газовые котлы (Рис. 3.24).

Рис. 3.24.Отопительный котел, рассчитанный на все виды топлива: 1 – подключение к дымовой трубе; 2 – очистной люк; 3 – змеевик; 4 – теплообменник ГВС; 5 – люк загрузки твердого топлива; 6 – отверстие под горелку; 7 – колосник; 8 – ТЭН

В таких универсальных котлах имеются камера для сжигания твердого топлива, отдельная камера для сжигания жидкого или газообразного топлива, ТЭН, а также возможность установки горелок как для газа, так и для жидкого топлива (это может быть как солярка, так и сжиженный газ). Таким образом, можно обеспечить свой дом всеми плюсами любого отопительного котла в зависимости от текущего момента и использовать то топливо, которое в данный момент является наиболее выгодным.

К минусам многотопливных котлов относится электрозависимость, довольно сложный монтаж, потребность в постоянной профилактике и техобслуживании, а также относительно сложное управление. Кроме того, если у вас имеется основной котел и резервный, работающий на другом виде топлива, и основной котел вышел из строя (или топливо для него стало недоступным), то можно подключить резервный. Но если функции основного и резервного котла выполняет многотопливный котел и он вышел из строя, то подключить вместо него уже нечего. Так что универсальный котел решает многие проблемы, кроме одной – возникающей при неисправности основного котла. Именно это снижает популярность котлов такого типа.

  • Читать дальше
  • 1
  • ...
  • 35
  • 36
  • 37
  • 38
  • 39
  • 40
  • 41
  • 42
  • 43
  • 44
  • 45
  • ...

Ебукер (ebooker) – онлайн-библиотека на русском языке. Книги доступны онлайн, без утомительной регистрации. Огромный выбор и удобный дизайн, позволяющий читать без проблем. Добавляйте сайт в закладки! Все произведения загружаются пользователями: если считаете, что ваши авторские права нарушены – используйте форму обратной связи.

Полезные ссылки

  • Моя полка

Контакты

  • chitat.ebooker@gmail.com

Подпишитесь на рассылку: